EasyManua.ls Logo

Delta VFD040C43A-21 - Page 638

Delta VFD040C43A-21
1259 pages
Print Icon
To Next Page IconTo Next Page
To Next Page IconTo Next Page
To Previous Page IconTo Previous Page
To Previous Page IconTo Previous Page
Loading...
Chapter 12 Descriptions of Parameter SettingsC2000 Plus
12.1-07-19
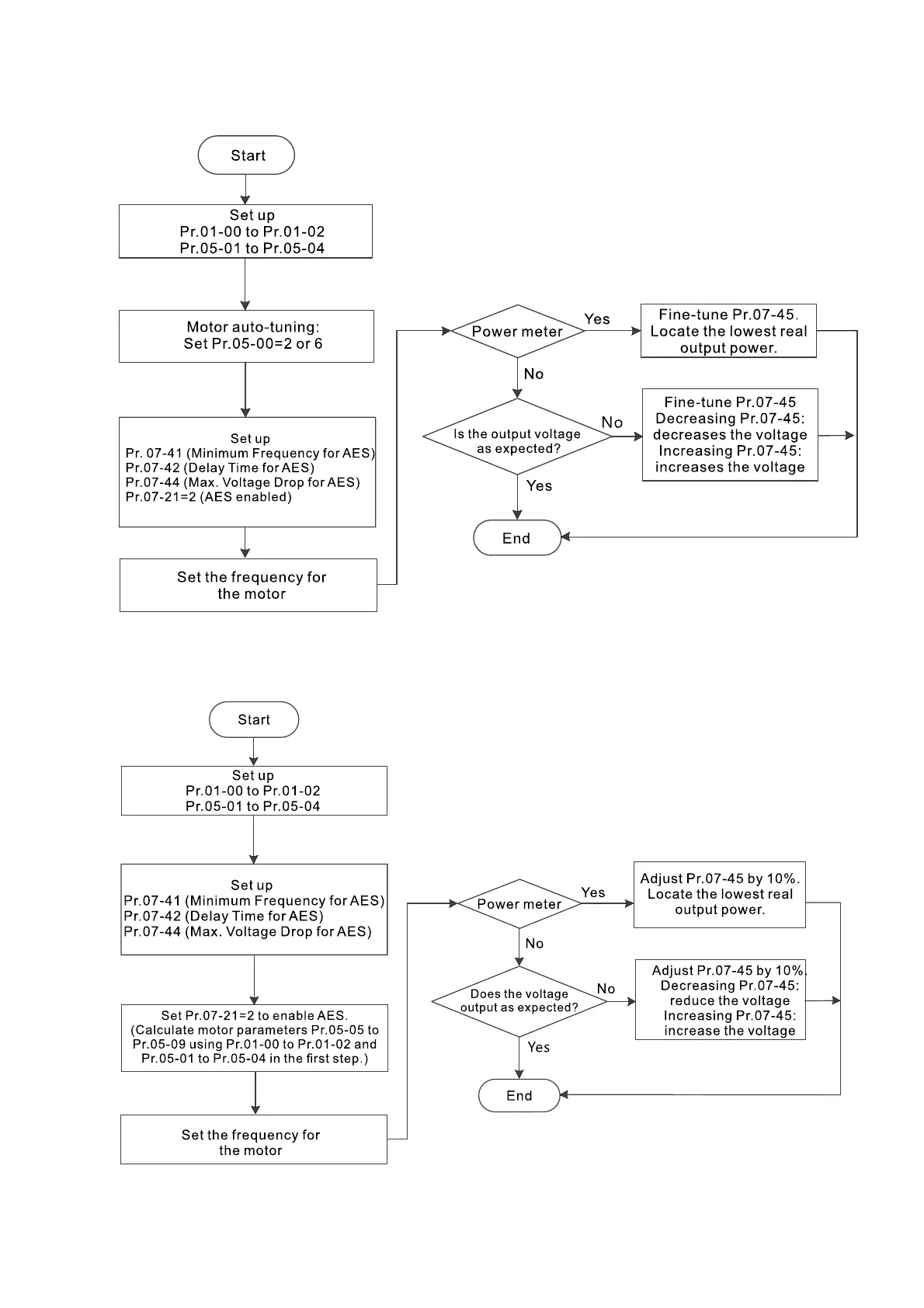
See below for the flowchart of AES adjustment with motor parameter auto-tuning
(recommended):
See below for the flowchart of AES adjustment without motor parameter auto-tuning (not
recommended):

Table of Contents

Related product manuals