EasyManua.ls Logo

Delta VFD300C43A-21 - Page 133

Delta VFD300C43A-21
1259 pages
Print Icon
To Next Page IconTo Next Page
To Next Page IconTo Next Page
To Previous Page IconTo Previous Page
To Previous Page IconTo Previous Page
Loading...
Chapter 7 Optional AccessoriesC2000 Plus
7-24
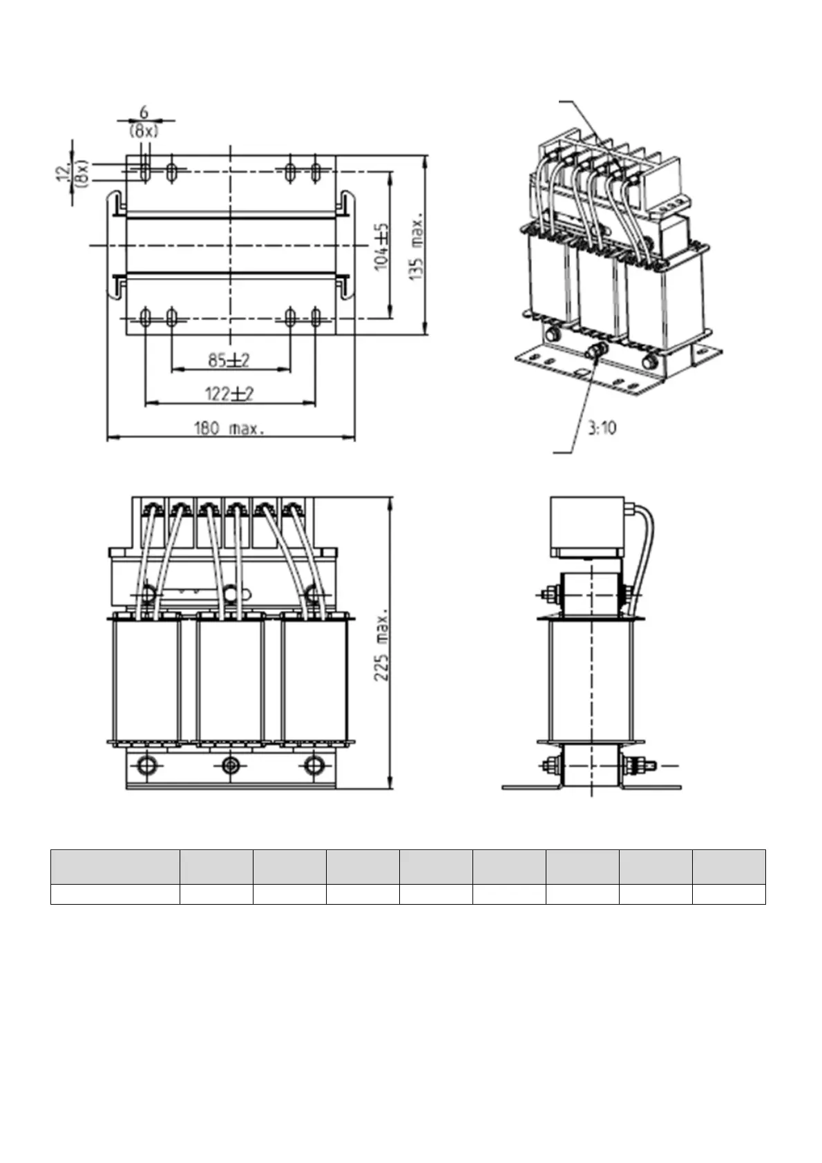
Figure 7-9
Unit: mm
AC Input Reactors
Delta part #
A B C D1*D2 H G1 G2 PE D
DR065AP162 180 225 135 6*12 104 122 85 M6
Table 7-27
Installing Screw M6
PE bolt
Torque: 15.3–45.9 kg-cm /
(13.3–39.8 lb-in) /
(1.5–4.5 Nm)
Screw length must
not interfere with
the mounting holes

Table of Contents

Related product manuals