EasyManua.ls Logo

Denon AVC-2308

Denon AVC-2308
188 pages
To Next Page IconTo Next Page
To Next Page IconTo Next Page
To Previous Page IconTo Previous Page
To Previous Page IconTo Previous Page
Loading...
65
AVR-2308CI / AVR-888 / AVR-2308 / AVC-2308
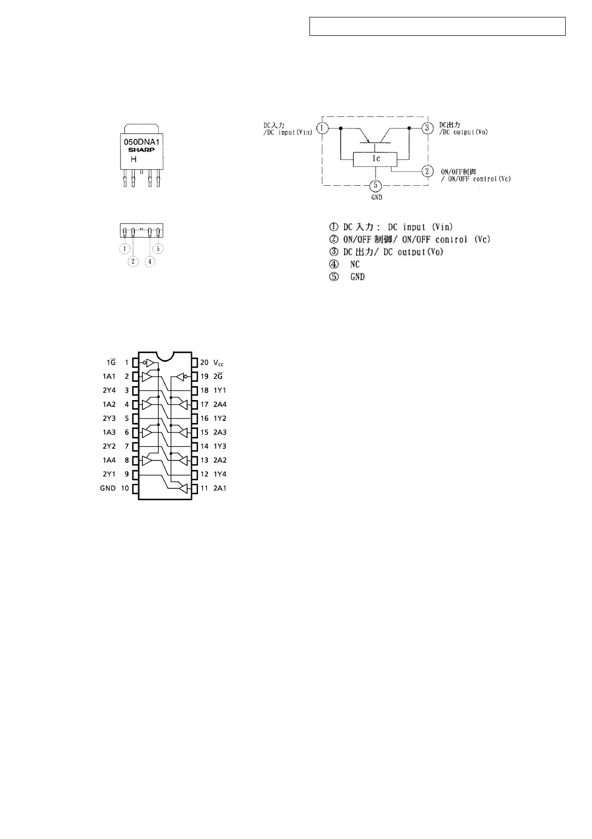
PQ050DNA1ZPH (DI: IC312) (MC: IC505,IC506)
PQ090DNA1ZPH (AV: IC502)
PQ120DNA1ZPH (MC: IC101,IC102,IC103)
TC74VHC244FT (DI: IC112)

Related product manuals