EasyManua.ls Logo

Det-Tronics Open Path Eclipse - Page 10

Det-Tronics Open Path Eclipse
49 pages
Print Icon
To Next Page IconTo Next Page
To Next Page IconTo Next Page
To Previous Page IconTo Previous Page
To Previous Page IconTo Previous Page
Loading...
95-8556
11. 3
8
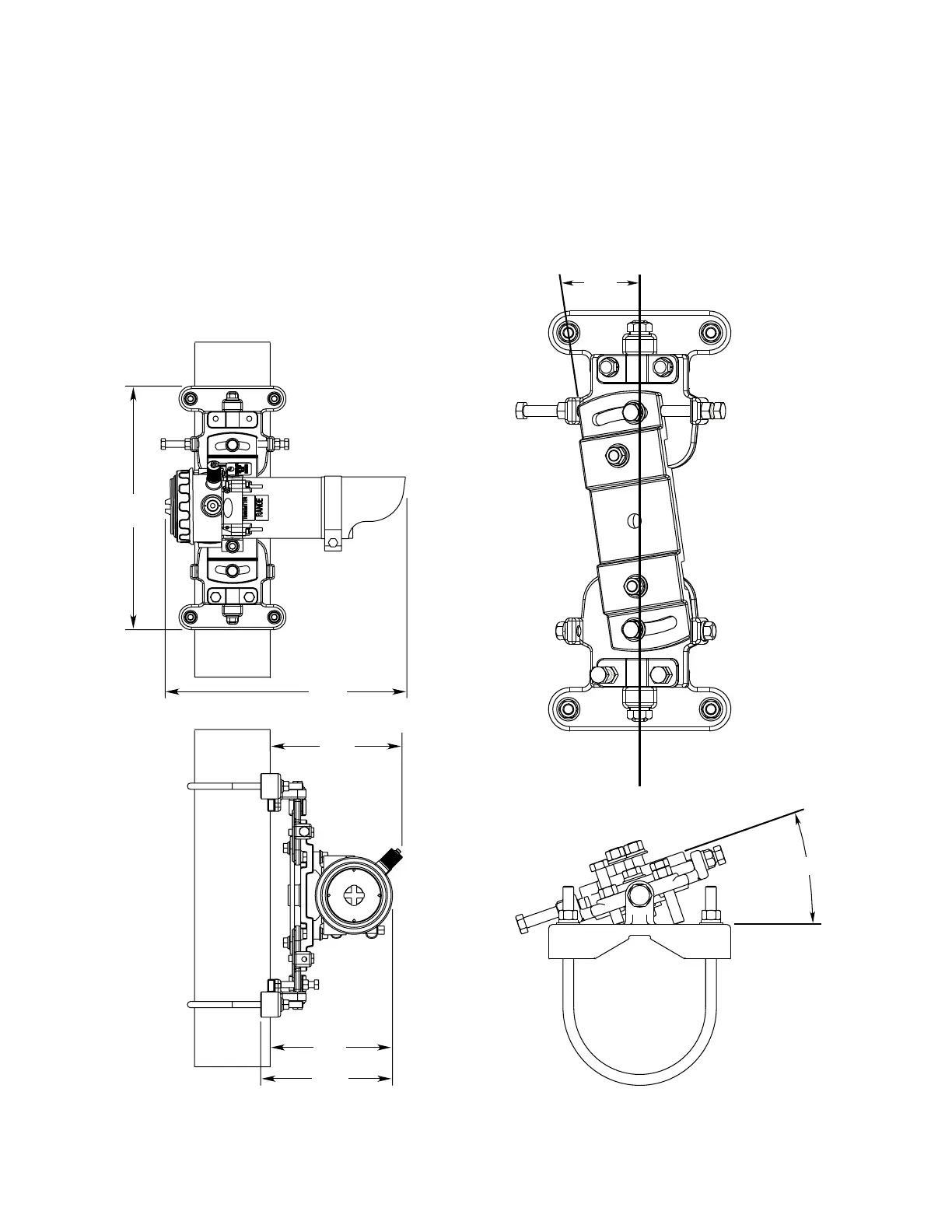
DIMENSIONS—
Module
Length: 11.5 inches (29 cm)
Diameter: 3.5 inches (9 cm) nominal
4.5 inches (11 cm) maximum
Mounting Plate
Height: 14.5 inches (37 cm)
Width: 6.5 inches (16 cm)
Designed to attach to a 4 inch nominal diameter pipe.
Refer to Figure 3A for mounted dimensions and Figure
3B for maximum pan/tilt angles of the mounting plate.
SHIPPING WEIGHT—
Transmitter or receiver (replacement):
30 pounds (14 kg)
Transmitter and receiver with mounting hardware:
75 pounds (34 kg)
WARRANTY—
2 year limited warranty from date of manufacture.
2251E
14.5
(36.8)
14.3
(36.3)
7. 8
(19.8)
7. 8
(19.8)
7. 3
(18.5)
Figure 3A—Mounted Dimensions of OPECL in Inches (cm)
Figure 3B—Maximum Pan/Tilt Angles of Mounting Plate
19.0°
± 8.0°
A2634

Table of Contents

Related product manuals