EasyManua.ls Logo

Diehl Hydrus - Page 2

Diehl Hydrus
20 pages
Print Icon
To Next Page IconTo Next Page
To Next Page IconTo Next Page
To Previous Page IconTo Previous Page
To Previous Page IconTo Previous Page
Loading...
1 2
5
/8" x
3
/4", 7
1
/2" installation length,
20 GPM max. ow
3
/4" S, 7
1
/2" installation length,
30 GPM max. ow
3
/4" L, 9" installation length,
30 GPM max. ow
1", 10
3
/4"
installation length
55 GPM max. ow
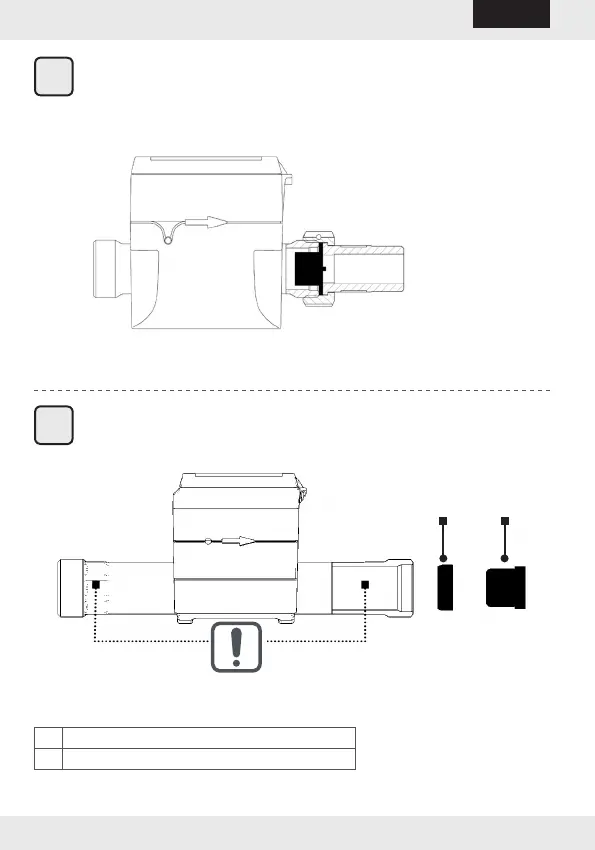
1 Compensating ring
2 Non-return valve
I
II
-2-
HYDRUS
English

Related product manuals