EasyManua.ls Logo

DIGISYNTHETIC DS216A - Rear Panel Connections

DIGISYNTHETIC DS216A
13 pages
Print Icon
To Next Page IconTo Next Page
To Next Page IconTo Next Page
To Previous Page IconTo Previous Page
To Previous Page IconTo Previous Page
Loading...
T500mA
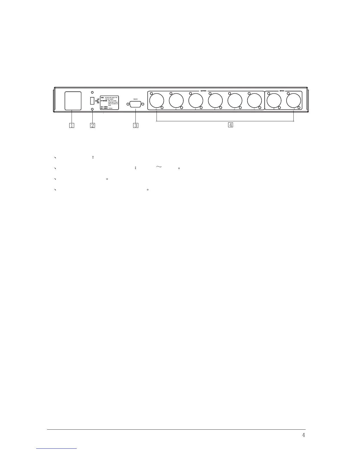
Rear panel
1 Power Jack
2 Voltage adjustment switch 110V 220V
3 RS232 interface
4 XLR input and output terminal

Related product manuals