EasyManua.ls Logo

Digitus DN-170110 - Depannage

Digitus DN-170110
60 pages
Print Icon
To Next Page IconTo Next Page
To Next Page IconTo Next Page
To Previous Page IconTo Previous Page
To Previous Page IconTo Previous Page
Loading...
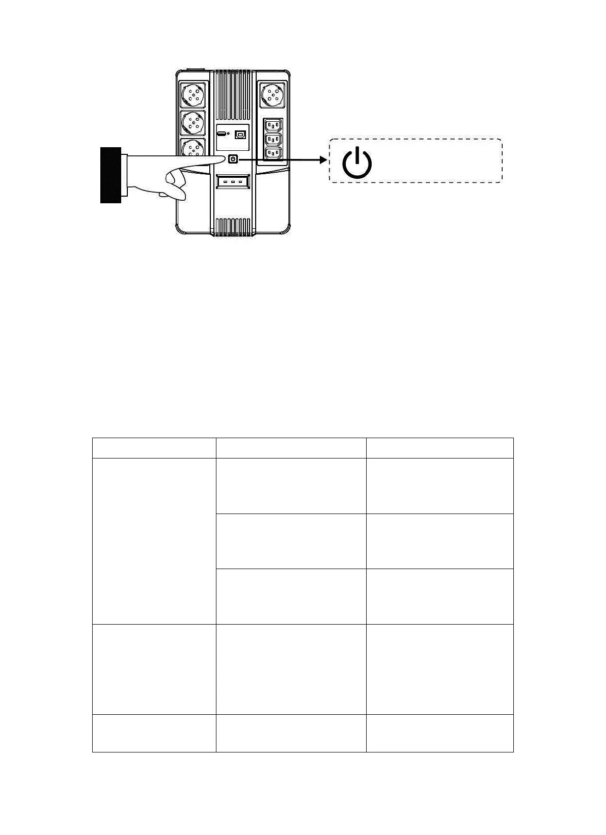
6. Démarrage à froid
Toutes les séries sont équipées d'un Démarrage à froid. En cas de
panne de courant, il suffit simplement d’appuyer sur l’interrupteur
d’alimentation pour démarrer l’onduleur.
DEPANNAGE
Symptôme Cause possible Action proposée
Appuyez sur OPEN
pour ouvrir le
plateau
1. Batterie faible 1. Charger la batterie
pendant 8 heures
max.
2. Batterie défectueuse 2. La remplacer avec
une batterie du
même type
3. L’interrupteur
d’alimentation n’a
pas appuyé
3. Appuyez de nouveau
sur l’interrupteur
d'alimentation
Alarme sonore
continue et
alimentation
secteur normale
Surcharge de l’onduleur Vérifiez que la charge
correspond à la
capacité de l’onduleur
spécifiée dans les
spécifications
En cas de panne
de courant, le
1. Surcharge de
l’onduleur
1. Retirez certains
équipements non
Commutateur
d’alimentation
29

Related product manuals