EasyManua.ls Logo

Digitus DN-170110 - Risoluzione Dei Problemi

Digitus DN-170110
60 pages
Print Icon
To Next Page IconTo Next Page
To Next Page IconTo Next Page
To Previous Page IconTo Previous Page
To Previous Page IconTo Previous Page
Loading...
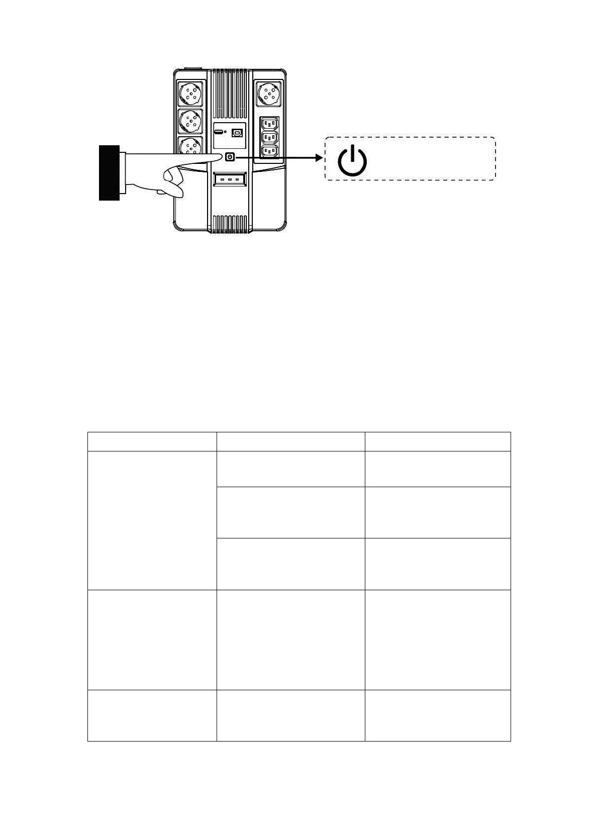
6. Avvio CC
Tutta la serie è dotata di avvio CC. Per avviare l’unità UPS quando la
corrente CA non è disponibile, è sufficiente premere l’interruttore di
alimentazione.
RISOLUZIONE DEI PROBLEMI
Sintomo Possibile causa Soluzione consigliata
I LED sul pannello
anteriore non si
illuminano
1. Batteria scarica 1. Ricaricare la batteria
per 8 ore
2. Batteria guasta 2. Sostituirla con una
batteria dello stesso
tipo
3. Linterruttore di
alimentazione non è
stato premuto
3. Premerlo di nuovo
Lallarme acustico
suona
ininterrottamente
quando l’erogazione
della corrente CA è
normale
Sovraccarico dell’unità
UPS
Accertarsi che il carico
corrisponda alla
capacità riportata nelle
specifiche tecniche
Quando manca la
corrente la durata
del back-up è breve
1. Sovraccarico
dell’unità UPS
1. Rimuovere dei
carichi non
importanti
Interruttore
39

Related product manuals