EasyManua.ls Logo

Dimplex 6901740259 - Page 46

Dimplex 6901740259
56 pages
Print Icon
To Next Page IconTo Next Page
To Next Page IconTo Next Page
To Previous Page IconTo Previous Page
To Previous Page IconTo Previous Page
Loading...
9
El cordón eléctrico puede correr 4.
a lo largo de la parte delantera
de la chimenea hasta una toma
de corriente cercana.
ADVERTENCIA: Para evitar todo
riesgo de herida, pida la ayuda de
un profesional para tapar la salida
de la chimenea al exterior, y si
tiene que hacer un agujero en la
chimenea existente para pasar los
cables. Si algún día desea volver
a utilizar su chimenea original (por
ejemplo para quemar madera),
le recomendamos que, antes de
hacerlo, la haga inspeccionar
por el servicio de inspección de
viviendas de su localidad para
evitar riesgos de incendio y
heridas.
Instalación en una pared de
construcción nueva
Elija un sitio apropiado, alejado 1.
de cortinas, muebles y lugares
muy transitados, y donde no hay
riesgo de humedad.
Coloque la chimenea en el lugar 2.
elegido para ver cómo quedará
la habitación.
Marque el sitio elegido en el 3.
suelo y vuelva a guardar la
chimenea en un lugar seguro,
seco y limpio.
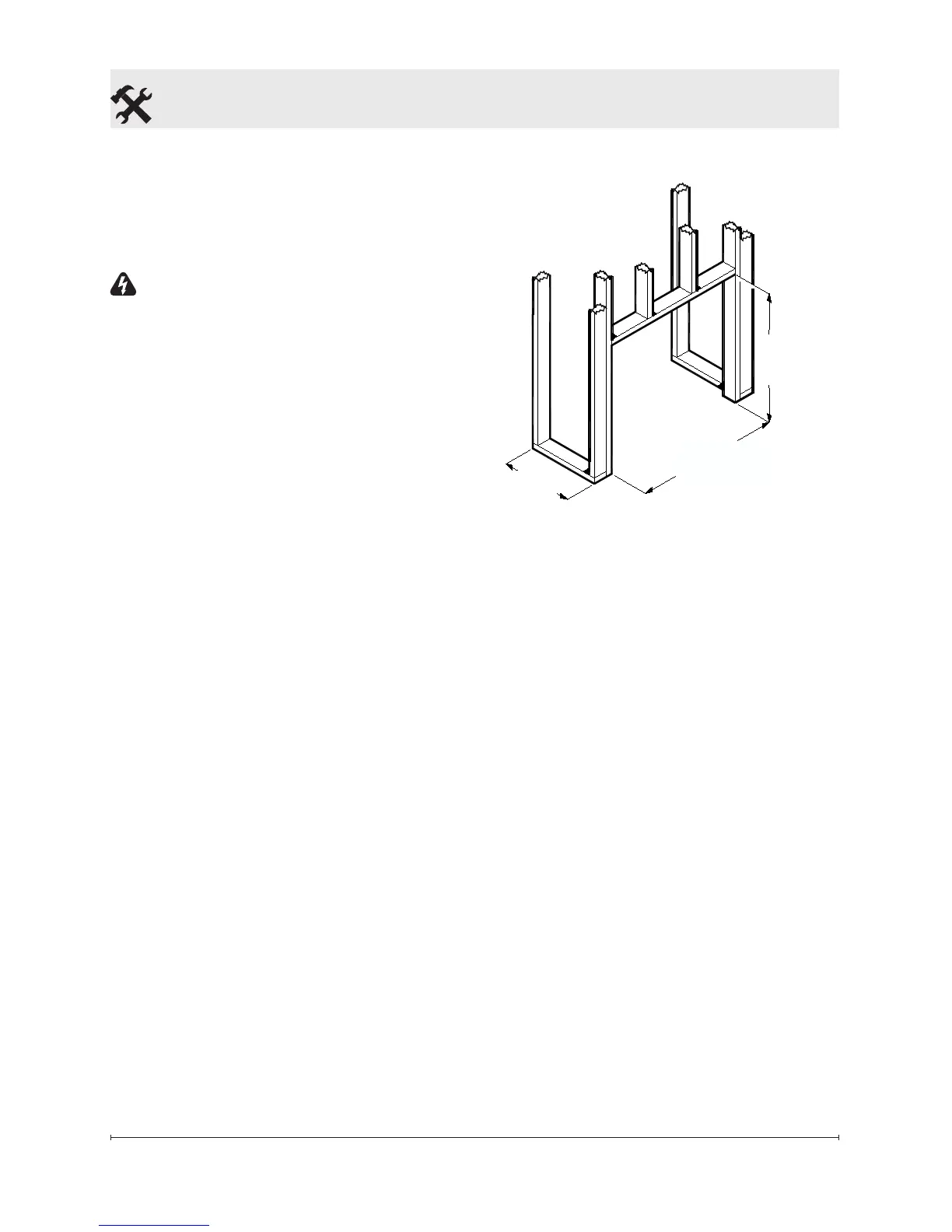
Utilice montantes de madera 4.
para enmarcar una abertura de
24 pulg. (610 mm) (anchura) x
23 ¼ pulg. (591 mm) (altura) x 11
½ pulg. (292 mm) (profundidad)
(Figura 2).
Debe prever el tipo de 5.
alimentación eléctrica requerido
(véase la NOTA 1).
Instalación con un manto Dimplex
o con un manto hecho a la medida
Elija un sitio apropiado, alejado 1.
de cortinas, muebles y lugares
muy transitados, y donde no hay
riesgo de humedad.
Coloque la chimenea en el lugar 2.
elegido para ver cómo quedará
la habitación.
Para facilitar la conexión 3.
eléctrica, elija un sitio a
proximidad de una toma de
corriente (véase la NOTA 1).
Guarde la chimenea en un lugar 4.
seguro, seco y limpio.
Ensamble el manto de Dimplex 5.
Elección del sitio y preparativos
23 ¼"
(591 mm)
11 ½"
(292 mm)
Figura 2
24"
(610 mm)

Related product manuals