EasyManua.ls Logo

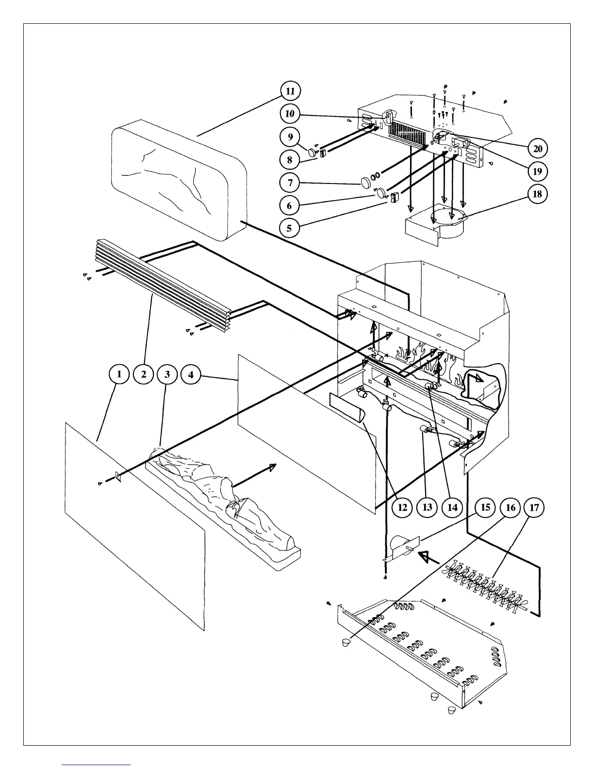
Dimplex SYMPHONY SF5598 - Fireplace Parts Diagram

Dimplex SYMPHONY SF5598
17 pages
Print Icon
To Next Page IconTo Next Page
To Next Page IconTo Next Page
To Previous Page IconTo Previous Page
To Previous Page IconTo Previous Page
Loading...
5
SYMPHONY ELECTRIC FIREPLACE

Related product manuals