EasyManua.ls Logo

DJ-Tech uSolo - Afficheur Lcd

DJ-Tech uSolo
100 pages
Print Icon
To Next Page IconTo Next Page
To Next Page IconTo Next Page
To Previous Page IconTo Previous Page
To Previous Page IconTo Previous Page
Loading...
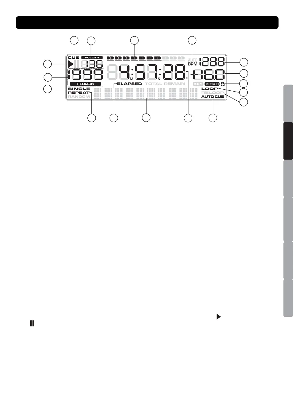
1. INDICATEUR CUE Cet indicateur s’éclaire quand la commande est en mode CUE et clignotera chaque
fois qu’un nouveau point CUE est placé.
2. INDICATEUR FOLDER – Cet indicateur vous affiche le numéro du dossier.
3. INDICATEUR BARRE DE TEMPS – Cette barre donne un temps approximatif visuel restant de la piste.
Cette barre commencera à clignoter quand le morceau en mode SINGLE va se terminer.
4. INDICATEUR BPM – s’éclaire lorsque le compteur AUTO BPM est engagé.
5. NIVEAU BPM – Montre le pourcentage du BPM de la chanson.
6. NIVEAU PITCH – Montre le pourcentage du PITCH de la chanson.
7. TEMPO LOCK– Indique si Tempo Lock est activé
8. INDICATEUR LOOP – Cet indicateur vous indique que la fonction LOOP est active.
9. INDICATEUR RELOOP – Cet indicateur vous indique qu’une boucle est placée et peut être activée
avec la fonction RELOOP.
10. INDICATEUR AUTO CUE – Vous indique qu’AUTO CUE est activé.
11. AFFICHEUR DE TEMPS – Ces indicateurs détaillent les minutes, les secondes et les Frames.
12. AFFICHEUR DE CARACTERES – Ceci montrera le nom du dossier, de l’artiste et le titre quand un
MP3 est chargé.
13. TIME MODE – Indique le temps écoulé ou restant du morceau.
14. INDICATEUR REPEAT – Indique que l’appareil est en mode REPEAT.
15. INDICATEUR SINGLE – Indique que la lecture est en mode simple (“SINGLE”) ou en mode
continue (rien affiché).
16. INDICATEUR TRACK – Indique le numéro du morceau en cours de lecture.
17. INDICATEUR PLAY/PAUSE – Indique que l’appareil est en mode lecture (" "), ou en mode pause
(" ").
CONTROLES ET FONCTIONS AFFICHEUR LCD
1
2
3
17
16
15
14
12
10
13
5
6
7
8
9
4
11
ESPAÑOL
ITALIANONEDERLANDS
ENGLISH
FRANÇAIS
DEUTSCH
22