EasyManua.ls Logo

DJ-Tech uSolo - CUE INDICATOR; FOLDER INDICATOR; TIME BAR INDICATOR; BPM STATUS

DJ-Tech uSolo
100 pages
Print Icon
To Next Page IconTo Next Page
To Next Page IconTo Next Page
To Previous Page IconTo Previous Page
To Previous Page IconTo Previous Page
Loading...
CONTROLS AND FUNCTIONS
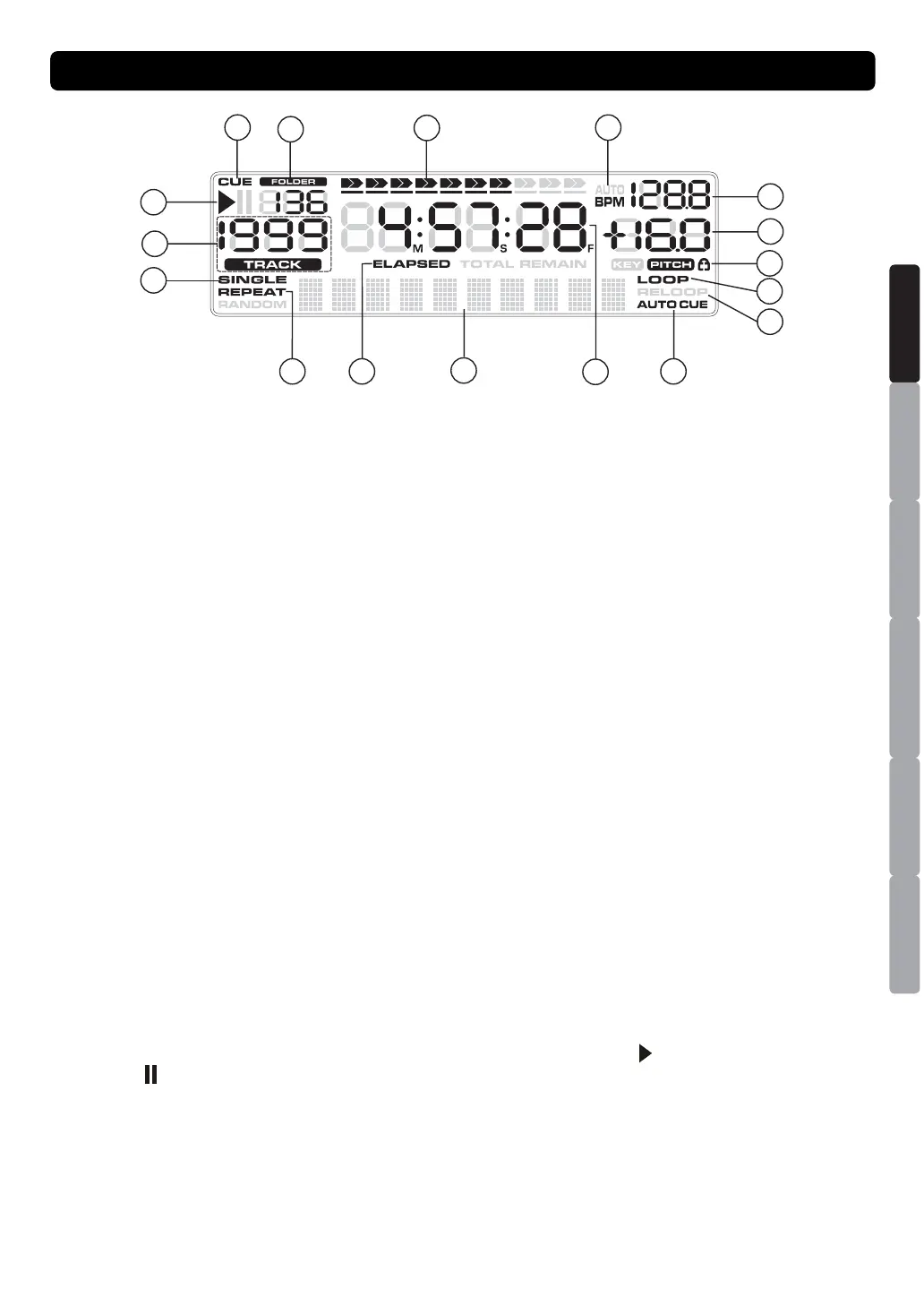
LCD DISPLAY
1
2
3
17
16
15
14
12
10
13
5
6
7
8
9
4
11
1. CUE INDICATOR This indicator will glow when the device is in CUE mode and will flash every time a
new CUE POINT is set.
2. FOLDER INDICATOR – Indicates the number of the currently playing folder.
3. TIME BAR INDICATOR Shows either time remaining or elapsed depending on the setting of the TIME
BUTTON. This bar will begin to flash shortly before the end of a track. The flashing bar is a great
visual reminder a track is about to end regardless of which time mode the unit is.
4. BPM STATUS – This will indicate that the AUTO BPM counter is active.
5. BPM METER – Indicates the BPM value of the currently playing track.
6. PITCH METER – Indicates the percentage of a track's pitch.
7. TEMPO LOCK– Indicates if the tempo lock is activated (lock symbol).
8. LOOP INDICATOR – Indicates if LOOP function is activated.
9. RELOOP INDICATOR – Indicates if a loop has been set which can be activated with the Reloop
function.
10. AUTO CUE STATUS – Indicates if Auto Cue is activated.
11. TIME DISPLAY – Indicates the time of the chosen Time mode in minutes, seconds and frames.
12. ALPHANUMERIC DISPLAY– Indicates the current name of the track, of the folder and the
sampling rate. For VBR recorded MP3 tracks the display only show “VBR”. All kinds of other
interactive information is also shown.
13. TIME MODE Indicates the elapsed time of a track ("ELAPSED") or the remaining time of a track
("Remain").
14. REPEAT INDICATOR – Indicates whether the unit is in REPEATED play mode.
15. SINGLE INDICATOR – Indicates whether the play mode is set to single ("SINGLE") or continuous
mode (no display).
16. TRACK INDICATOR – Indicates the number of the currently playing track.
17. PLAY/PAUSE INDICATOR – Indicates the device is in play mode (" "), or the player is in pause
mode (" ").
ESPAÑOL
ITALIANONEDERLANDS
ENGLISH
FRANÇAIS
DEUTSCH
6