EasyManua.ls Logo

Doosan D1146 - Guide for valve clearance adjustment; To adjust the clearance...

Doosan D1146
179 pages
Print Icon
To Next Page IconTo Next Page
To Next Page IconTo Next Page
To Previous Page IconTo Previous Page
To Previous Page IconTo Previous Page
Loading...
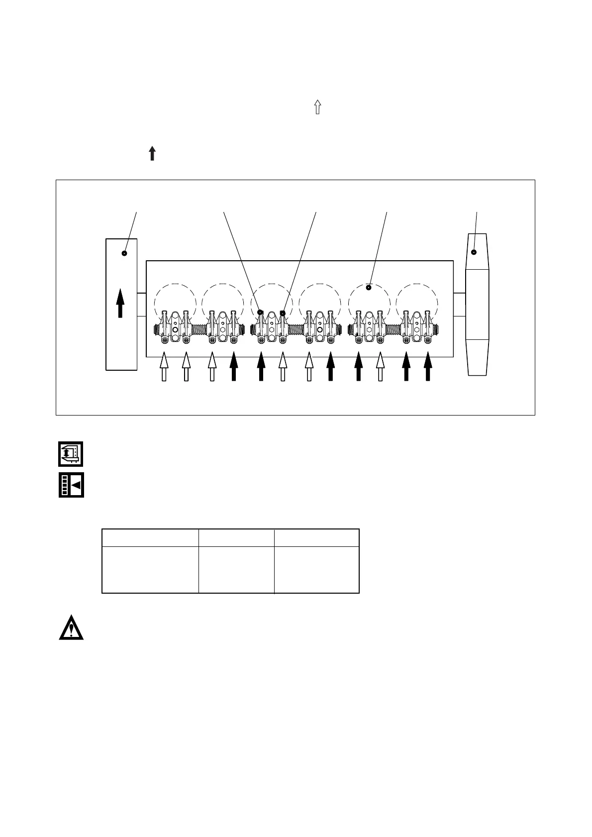
<Guide for valve clearance adjustment>
By turning the crankshaft, when the intake and exhaust of #6 cylinder (the first cylinder from
the flywheel) overlap, that is, when #1 cylinder’s piston come at the compression top dead
center (OT), adjust the valve clearances by mark indicated.
After having turned the crankshaft by 360
˚
and Intake & exhaust valves of #1 cylinder over-
lap, that is, when #6 cylinder is in the state of compression TDC (OT), the clearance indi-
cated by mark is adjusted.
To adjust the clearance, loosen the lock nuts of rocker arm adjusting screws and push the
feeler gauge of specified value between a rocker arm and a valve stem (to measure the
clearance of the valve and rocker arm contacting part) and adjust the clearance with adjust-
ing screw respectively and then tighten with the lock nut.
As for the valve clearance, adjust it when in cold.
Caution :
(1) Crankshaft revolution is done by hands without using a starting motor.
(2) Turn it to the direction of engine rotation, but do not use the installing bolts at the
turn.
(3) The cylinder no. and the order of intake and exhaust can be determined from the fly-
wheel housing.
- 115 -
12 34 56
Intake Valve Exhaust Valve Cylinder No. Cooling FanFlywheel
EA9O5005
Model Intake Valve Exhaust Valve
D1146/PU086
D1146T/PU086T 0.3 mm 0.3 mm
P086TI

Related product manuals