EasyManua.ls Logo

Doosan D1146 - Adjustment of Injection Timing; Method of adjusting injection timing

Doosan D1146
179 pages
Print Icon
To Next Page IconTo Next Page
To Next Page IconTo Next Page
To Previous Page IconTo Previous Page
To Previous Page IconTo Previous Page
Loading...
6.2. Adjustment of Injection Timing
6.2.1. Method of adjusting injection timing
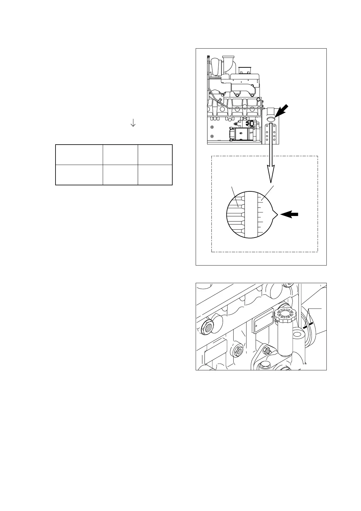
Turn the flywheel until No. 1 piston is
placed in the “OT” position of notch
marks on the flywheel, and then turn
again the flywheel clockwise until show-
ing the notch mark of the right figure cor-
responding to the injection timing is
aligned with the pointer ( ) on the fly-
wheel housing.
Turn the timer until the notch mark of the
indicator plate attached to the fuel injec-
tion pump is aligned with the notch mark
of the timer.
- 48 -
Notch
mark
EA9O5002
Injection timing
notch mark
Timing
check hole
Flywheel
ring gear
EA9O5001
D1146/PU086
P086TI
D1146T /PU086T
Fuel injection timing
18
˚
12
˚
(B.T.D.C static)

Related product manuals