EasyManua.ls Logo

Drayton Digistat RF3 - Digistat RF3; System Status Indicators; Setting the Time of Day; Pre-programmed Times and Temperatures

Drayton Digistat RF3
4 pages
Print Icon
To Next Page IconTo Next Page
To Next Page IconTo Next Page
To Previous Page IconTo Previous Page
To Previous Page IconTo Previous Page
Loading...
DIGISTAT RF3
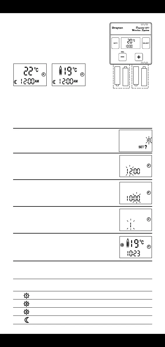
Once the ‘wireless system’ has been commissioned, the unit will
display the actual room temperature and the time at somewhere
after 12.00 midnight (Diagram A).
Note: If this unit has replaced a standard room thermo-stat
and/or a programmer is incorporated in the control system, it is
suggested that the central heating (CH) channel is switched to
On/Cont/24hrs. Operation of the heating times and tempera-
tures will be controlled by this unit.
Diagram A Diagram B
Digistat RF3 has an indicator to show when the heating system is ON or OFF, e.g. if the SET
temperature is 20°C and the actual room temperature is below 20°C a flame symbol will appear on
the display (Diagram B). This indicates a demand for heat (system will switch ON).
During normal operation, the Digistat RF3 will display actual room temperature continuously.
SETTING THE TIME OF DAY (steps 1-5)
The diagram next to each step description shows resulting display.
1. Press “SET?” button
2. Press “Yes” (–) button.The hours will flash
as Fig. 2. Use the + and – buttons to set
correct hour.
3. Press “SET?” button again and the minutes will flash, use + and –
buttons to set correct minute time.
4. Press “SET?” button, day of the week will flash, 1 = Monday,
7 = Sunday, use + and – buttons to set correct day.
5. Press “SET?” button twice to return to normal operating mode.
PRE-PROGRAMMED TIMES AND TEMPERATURES
The Digistat RF3 comes with the following preset programme.
Symbol Mon-Fri Sat-Sun Temperature
Time Time
6.30 am 7.00 am 20°C
8.30 am 9.00 am 16°C
4.30 pm 4.00 pm 21°C
10.30 pm 11.00 pm 7°C*
* 16°C if selector pin removed, see installation instructions.
+
+
+
+
SYSTEM OFF SYSTEM ON

Related product manuals