EasyManua.ls Logo

Drive 15230 - Page 4

Drive 15230
12 pages
Print Icon
To Next Page IconTo Next Page
To Next Page IconTo Next Page
To Previous Page IconTo Previous Page
To Previous Page IconTo Previous Page
Loading...
ASSEMBLY INSTRUCTIONS
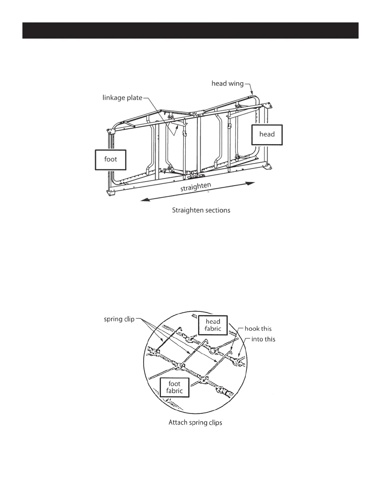
3. Straighten head and foot and position as shown below. Position head wing as
shown below.
CAUTION: WHILE BALANCING FRAME, DO NOT ELEVATE KNEE TOO FAR,
OR LINKAGE MAY OVER-EXTEND AND LOCK. IF LINKAGE LOCKS,
MANUALLY ELEVATE KNEE TO STRAIGHTEN OUT LINKAGE AND
PUSH LARGE LINKAGE PLATE TOWARD FOOT OF BED.
4. Attach foot fabric to head fabric: Attach the foot fabric spring clips to the head
fabric as shown below.
CAUTION: ENSURE THAT HEAD AND FOOT SECTIONS AND SPRING FABRIC
ARE ASSEMBLED AS DESCRIBED ABOVE BEFORE CONTINUING
WITH BED ASSEMBLY.
3

Related product manuals