EasyManua.ls Logo

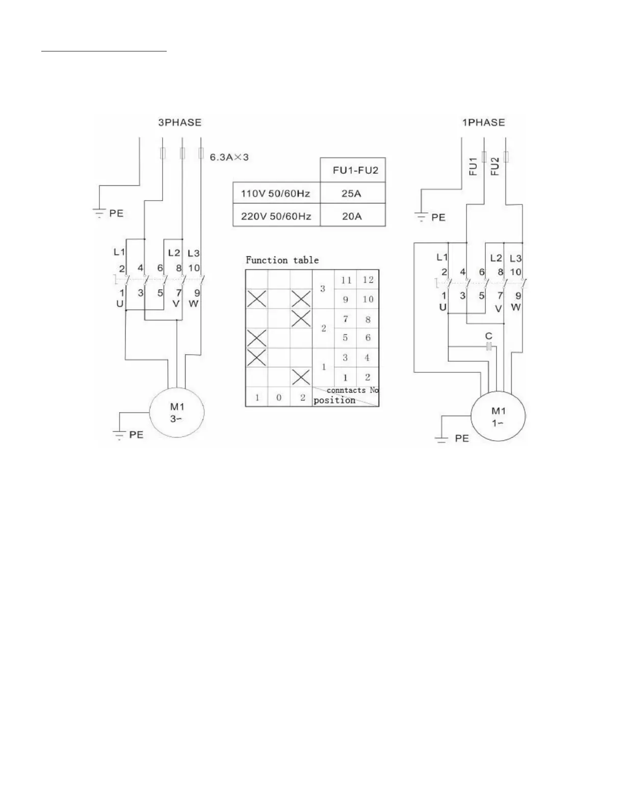
Eagle Equipment ETC-2800A - Circuit Diagram

Eagle Equipment ETC-2800A
40 pages
Print Icon
To Next Page IconTo Next Page
To Next Page IconTo Next Page
To Previous Page IconTo Previous Page
To Previous Page IconTo Previous Page
Loading...
4810 Clover Road • Greensboro, NC 27450 • 1-800-336-2776 • www.eagleequip.com • © Eagle Equipment 2018.01 • page 36
8. CIRCUIT DIAGRAM