EasyManua.ls Logo

Eagle Premier Series - MAIN SCREEN

Eagle Premier Series
13 pages
Print Icon
To Next Page IconTo Next Page
To Next Page IconTo Next Page
To Previous Page IconTo Previous Page
To Previous Page IconTo Previous Page
Loading...
3
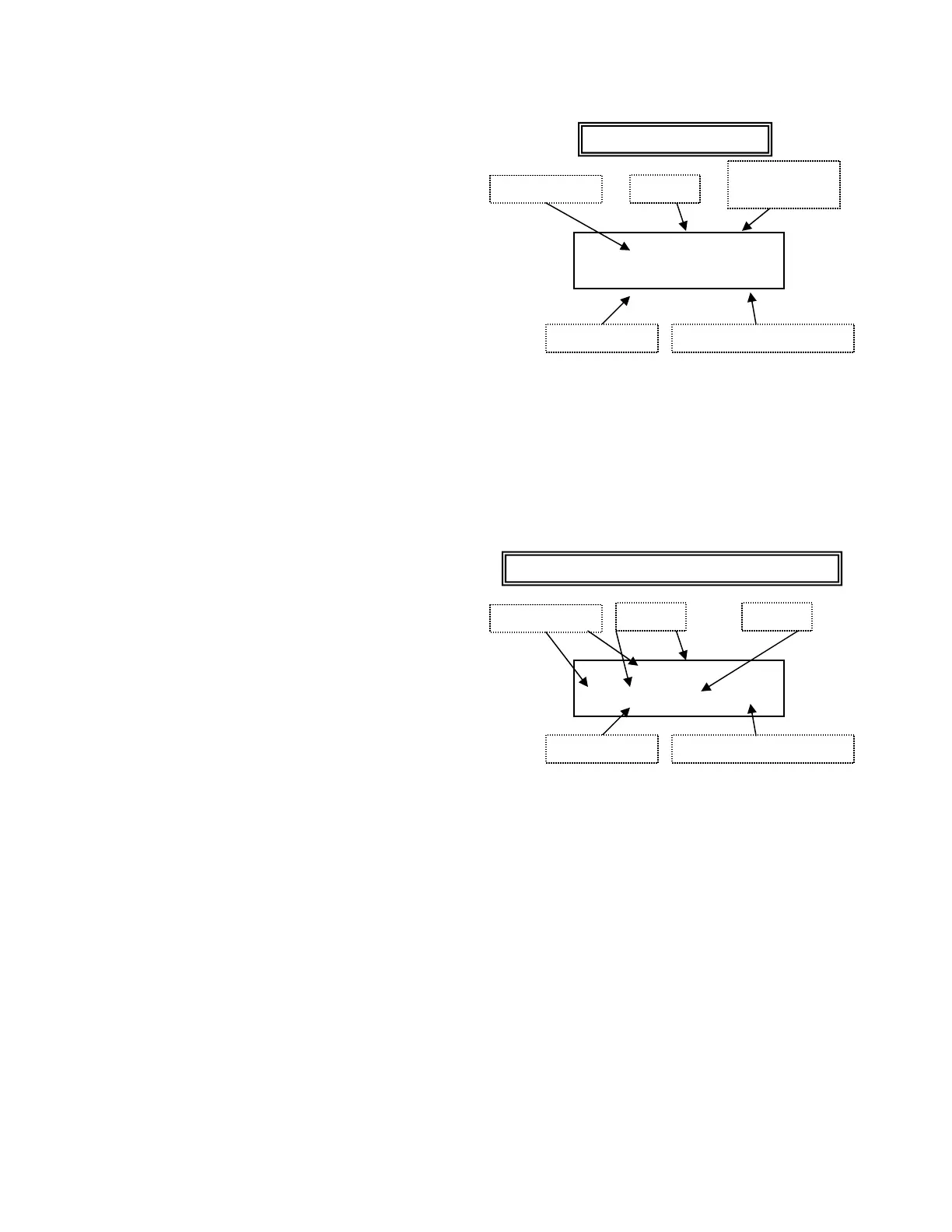
MAIN SCREEN
The basic operation of the RP-1200 is
a simple indication of a pH, ORP,
fluoride, or ammonia probe output.
The screen to the right shows the pH
label, value, and units (if needed). On
the bottom line is a fifty-element bar
graph that is represents the analog
output.
An optional residual probe can be
displayed on the main screen.
Pressing the SET pushbutton prompts the operator to enter a password.
If the password entered is correct and before the unit displays the METER
SETUP menu.
pH 7.00
|||||||||| | SET
VALUE
LABEL
PUSHBUTTON LEGEND
UNITS (if
needed)
PH, ORP,
FL, NH3
BARGRAPH
pH 7.00
RE 0.00 ppm SET
VALUE
LABEL
PUSHBUTTON LEGEND
UNITS
PH, ORP, FLUORIDE w/ RESIDUAL
RESIDUAL