EasyManua.ls Logo

Eaton EASY-E4-UC-12RC1

Eaton EASY-E4-UC-12RC1
621 pages
To Next Page IconTo Next Page
To Next Page IconTo Next Page
To Previous Page IconTo Previous Page
To Previous Page IconTo Previous Page
Loading...
6. Function blocks
6.1 Manufacturer function blocks
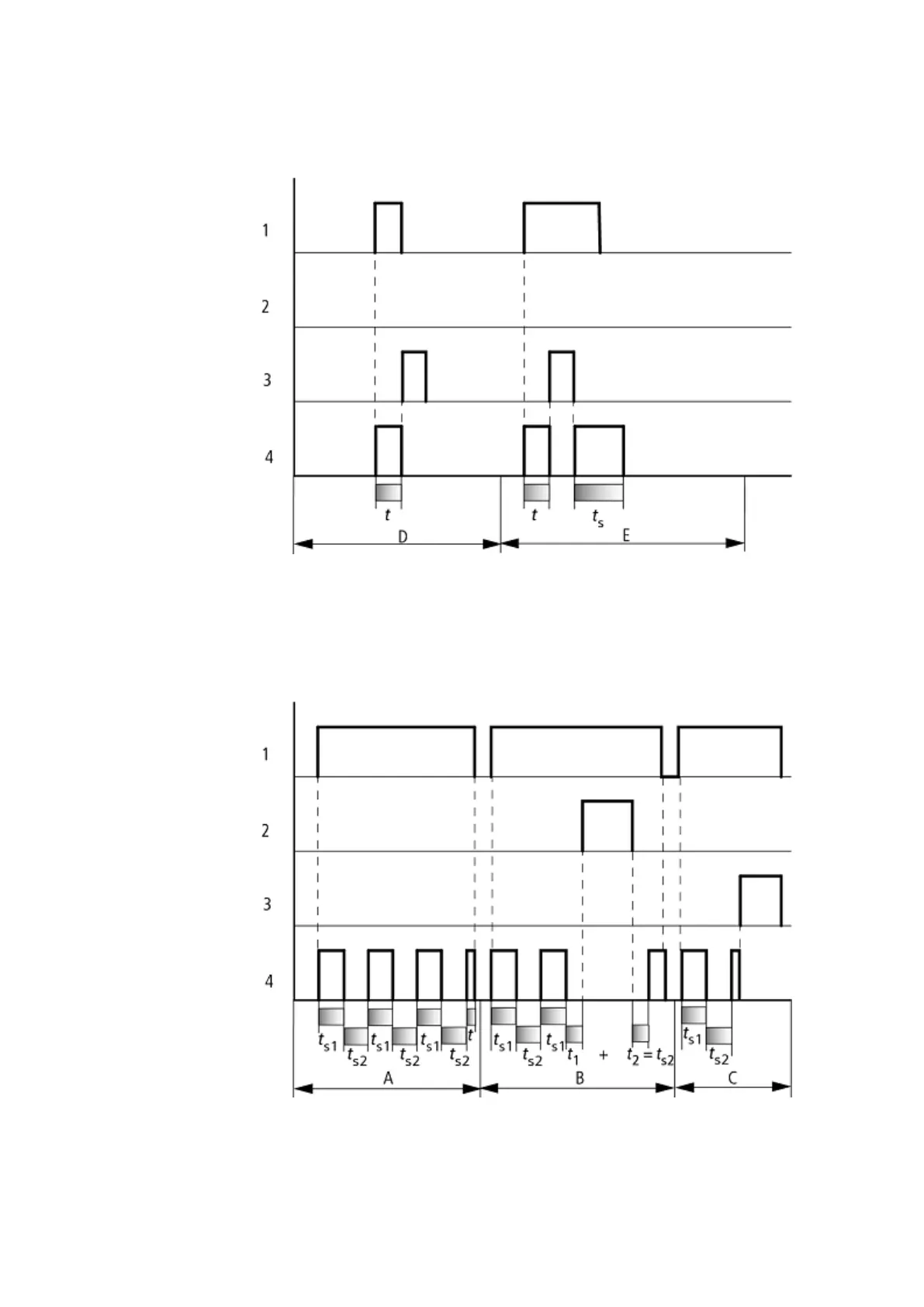
Figure 120: Signal diagram timing relay, single pulse 2
Range D: The reset coil resets the timing relay.
Range E: The reset coil resets the timing relay. The trigger coil is still energized after the reset coil is
disconnected, whilst the delay time runs down..
How the timing relay works with the flashing operating mode, synchronous and
asynchronous
Figure 121: Signal diagram timing relay, single pulse 1
1: Trigger coil T…EN
2: Stop coil T…ST
206
easyE4 11/18 MN050009 EN www.eaton.com

Table of Contents

Other manuals for Eaton EASY-E4-UC-12RC1

Related product manuals