EasyManua.ls Logo

Echo SRM-267 - Versión con Manillar Doble; Versión con Manillar Único

Echo SRM-267
164 pages
Print Icon
To Next Page IconTo Next Page
To Next Page IconTo Next Page
To Previous Page IconTo Previous Page
To Previous Page IconTo Previous Page
Loading...
10
Antes de comenzar
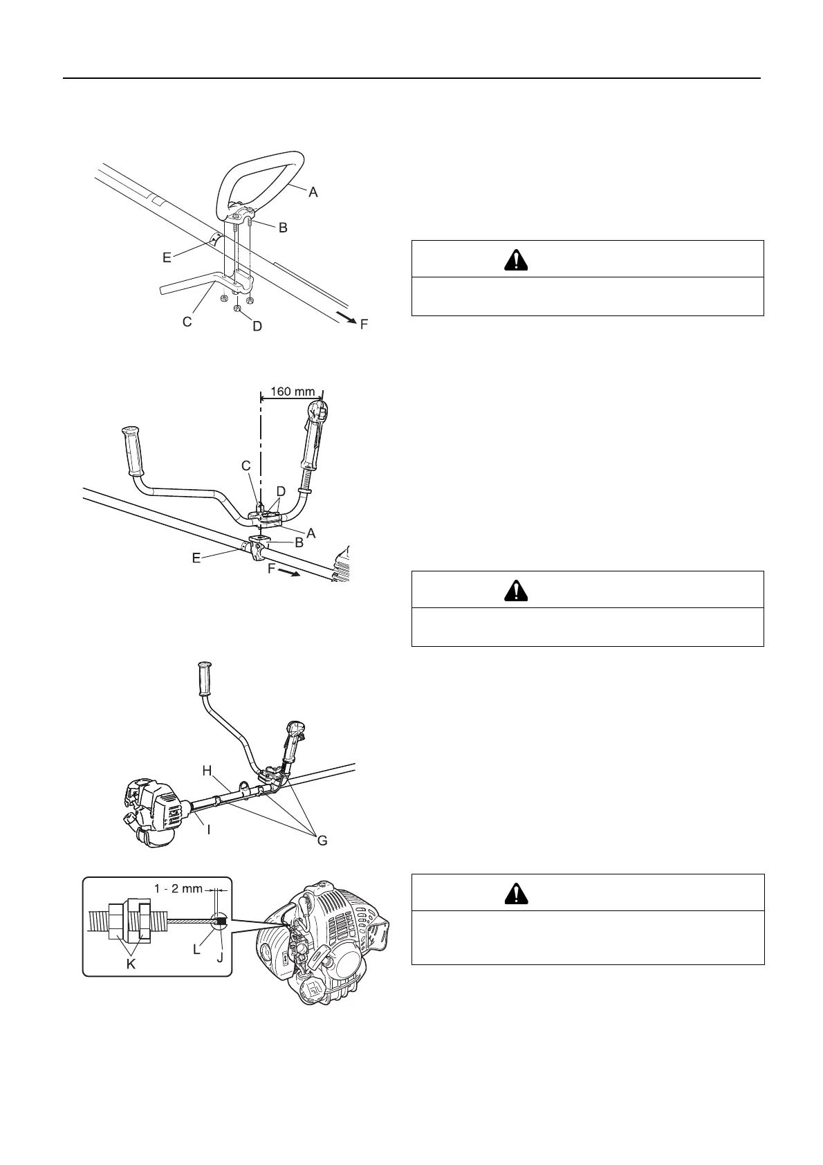
Versión con manillar único
Montaje del manillar único
Monte el manillar único (A) y el soporte (C) en el conjunto del ár-
bol de transmisión.
Coloque el manillar en una posición cómoda para su uso y aprie-
te los pernos (B).
Versión con manillar doble
Versión con manillar doble
1. Coloque el soporte de montaje del manillar superior (A) so-
bre el soporte de montaje del manillar inferior (B) y júntelos
apretando ligeramente el perno de montaje (C) del manillar.
2. Ajuste la inclinación del manillar y colóquelo en la posición
adecuada (la que le facilite el uso de la unidad) y apriete fir-
memente el perno de montaje del manillar.
Procedimiento para ajustar el perno (D) del dispositivo de su-
jeción (según sea necesario)
(1) Apriete los pernos hasta que queden ajustados.
(2) Afloje los pernos 1 vuelta y
1
/
2
.
E: Flecha
F: Al motor
3. Para evitar que el cable del acelerador (I) quede suelto, su-
jételo en el tubo del eje (H) (en dos sitios) y en la parte de-
recha del manillar doble (1 sitio) con clips para la fijación de
cables (G).
K: Tuercas
E: Flecha F: Al motor
PRECAUCIÓN
Instale el manillar hacia el lado del motor a partir de la
marca de flecha.
PRECAUCIÓN
Instale el manillar hacia el lado del motor a partir de la
marca de flecha.
PRECAUCIÓN
Después del montaje, ajuste la holgura del extremo del
cable (J) en el lado del carburador (L) para que sea de 1
a 2 mm.

Table of Contents

Related product manuals