EasyManua.ls Logo

EEC 6900S Series - Rear Panel Description

EEC 6900S Series
29 pages
Print Icon
To Next Page IconTo Next Page
To Next Page IconTo Next Page
To Previous Page IconTo Previous Page
To Previous Page IconTo Previous Page
Loading...
12
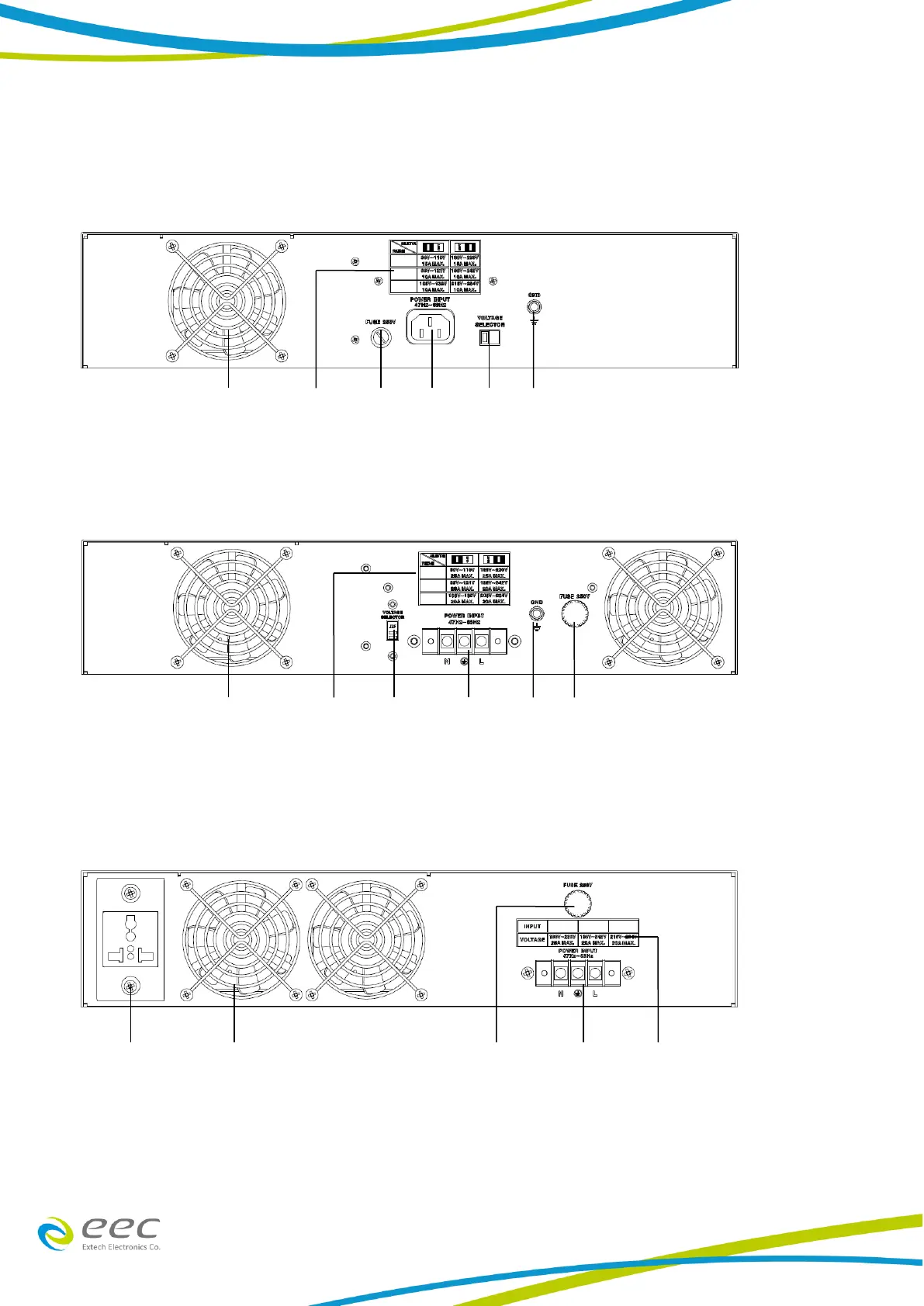
3.3 Rear Panel Description
6905S rear panel
6910S rear panel
6920S rear panel
1
1
2
2
3
3
4
5
5
6
8
8
1
2
6
7
8

Related product manuals