EasyManua.ls Logo

Efka DC 1550 - Page 15

Efka DC 1550
78 pages
Print Icon
To Next Page IconTo Next Page
To Next Page IconTo Next Page
To Previous Page IconTo Previous Page
To Previous Page IconTo Previous Page
Loading...
EFKA AB320A5200
17
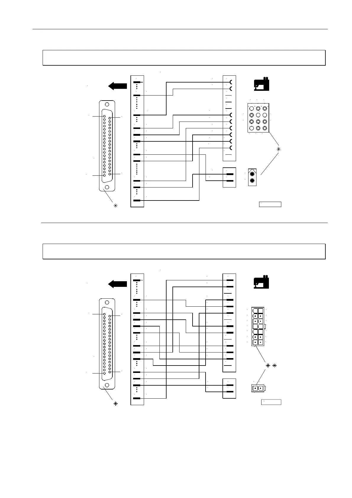
Adapter cord for JUKI model 5550-6
Setting the functional sequence Thread trimming mode ! Set parameter 290 = 14
Setting the functions of the keys Input in1 ! Set parameter 240 = 16
Adapter cord for JUKI model 5550-7
Setting the functional sequence Thread trimming mode ! Set parameter 290 = 14
Setting the functions of the keys Input in1 ! Set parameter 240 = 16
*) Rear view (soldering side) of 37-pin plug (ST2). Front view (component side) of the remaining plugs/sockets.
**) Front view (component side) of the Molex Minifit plugs.
Nr.
1112816
37 M1
4
0V
SUB - D- 37
19
1
+ 24V
27 M3
37
34
35
VR
FL
26
+ 24V
+ 24V
+ 24V
20
16
17
18
11 in2
ST2
1
KL2235b
3
11FA1+ 2
12
+24V
FL
2
1
2
1
2
11
10
+24V
+24V
VR
+24V
FW
6
8
9
7
6
9
12
4
5
3
7
10
1
5
4
8
ZVR
0V
1
2
Nr.
1113132
19
1
SUB - D- 37
M228
M1
+ 24V
VR
FL
37
37
34
35
33
+ 24V16
M3
+ 24V
+ 24V
0V
+ 24V
20
17
18
19
27
26
ST2
in2
1
11
ZVR 5
+ 24V
13
+ 24V
FL
14
2
1
1 2
KL2363
VR 6
7
+ 24V
+ 24V
+ 24V
0V
12
10
8
9
7
11
1
2
3
4
5
6
14
11
10
13
12
9
8
FA1+ 2
FW
FZ
4
2
3
1

Other manuals for Efka DC 1550