EasyManua.ls Logo

EINHELL FA-G 2601 - Powolne Otwieranie Dużych Bram; Langsame Öffnungszeit für Großetore

EINHELL FA-G 2601
66 pages
Print Icon
To Next Page IconTo Next Page
To Next Page IconTo Next Page
To Previous Page IconTo Previous Page
To Previous Page IconTo Previous Page
Loading...
25
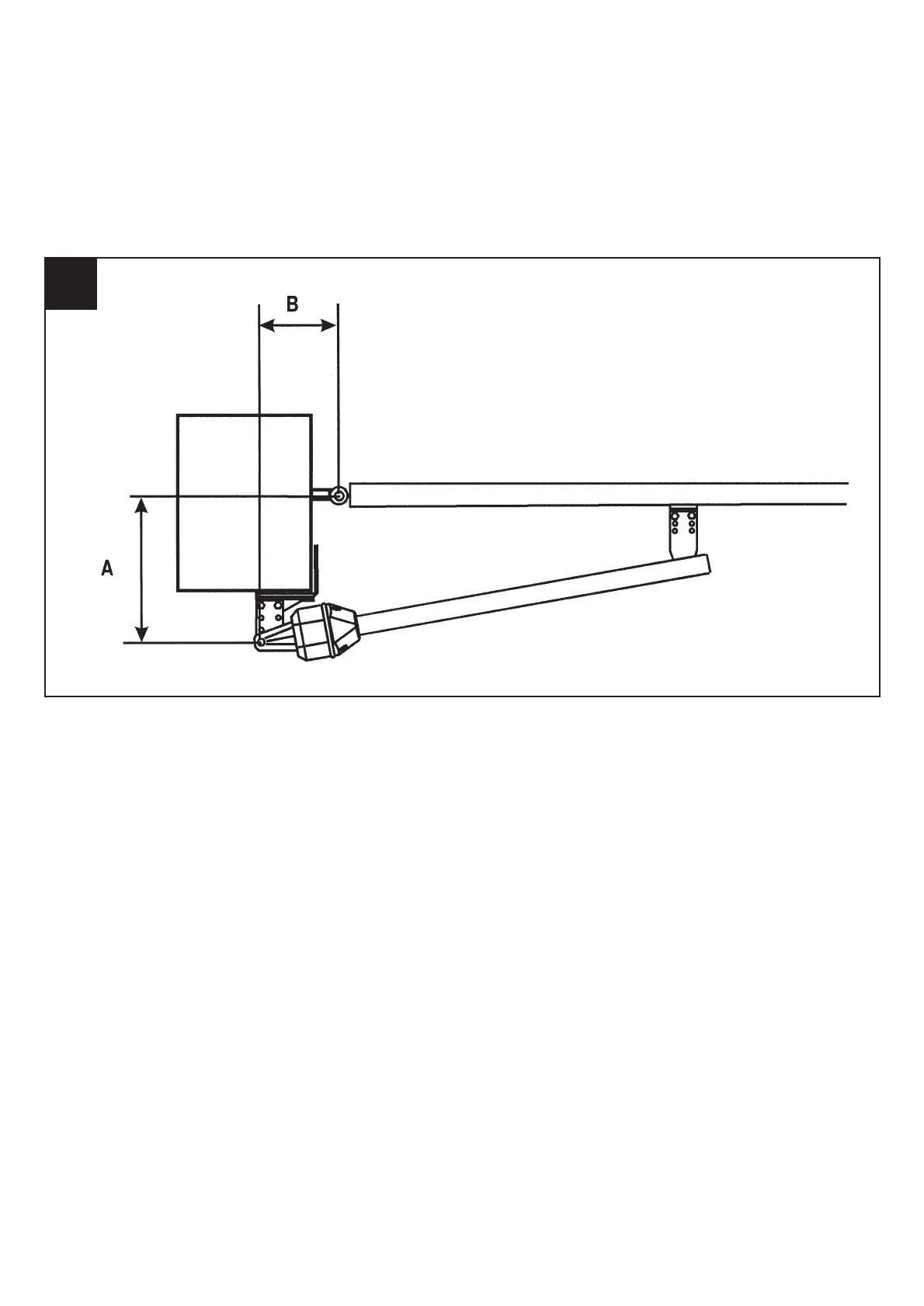
6.4 Langsame Öffnungszeit für große Tore
6.4 Slow opening time for large doors/gates
6.4 Temps d’ouverture lente pour les gran
des portes
6.4 Langzaam openen van grote poorten
6.4 Tiempo de apertura lento para puertas de
gran tamaño
6.4 Tempo de abertura lento para portões
grandes
6.4 Längre öppningstid för stora grindar
6.4 Hidas avaaminen (suuret ovet)
6.4 Langsom åpningstid for store porter
6.4 Tempo di apertura lenta per porte grandi
6.4 Powolne otwieranie dużych bram
6.4 Hosszú nyitási idô nagy kapukhoz
6.4
A = 240 mm
B = 175 mm

Table of Contents