EasyManua.ls Logo

Electra PXD912 - Page 60

Electra PXD912
159 pages
Print Icon
To Next Page IconTo Next Page
To Next Page IconTo Next Page
To Previous Page IconTo Previous Page
To Previous Page IconTo Previous Page
Loading...
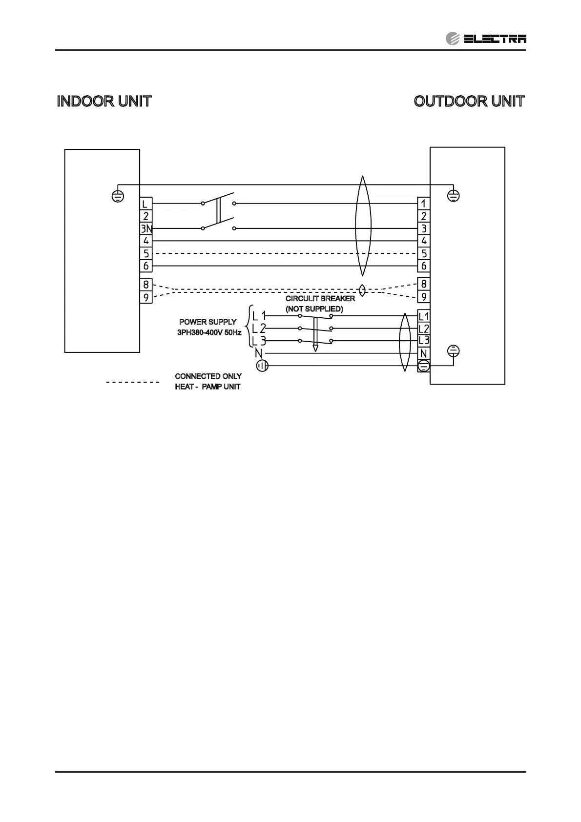
ELECTRICAL CONNECTIONS
8-2 SM PXD 1-E.3 GB
8.3 PX 18, 24, 30 3PH
CONTENT

Related product manuals