EasyManua.ls Logo

Electrolux EFG50021 - Page 17

Electrolux EFG50021
24 pages
Print Icon
To Next Page IconTo Next Page
To Next Page IconTo Next Page
To Previous Page IconTo Previous Page
To Previous Page IconTo Previous Page
Loading...
electrolux 17
EN
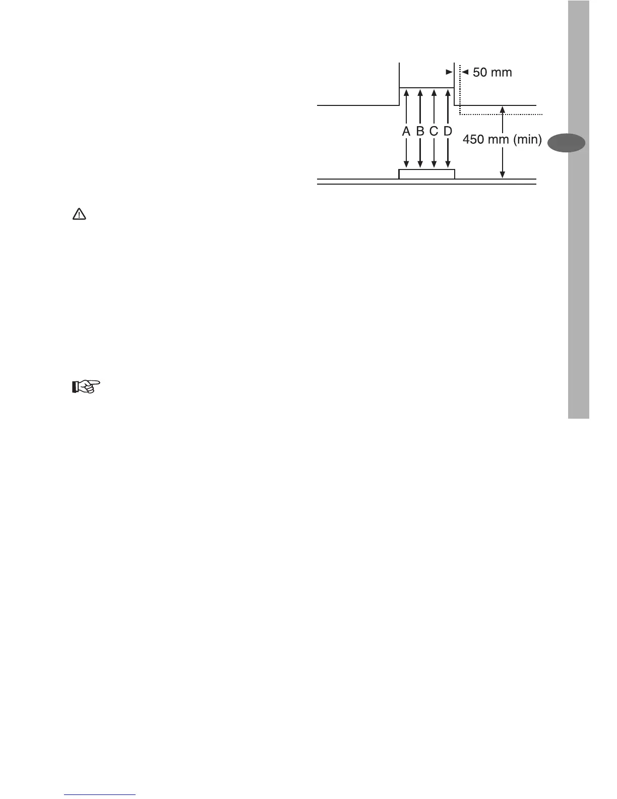
A: Built-in Electric Hob: 650mm clearance
B: Built-in Gas hob: 700mm clearance
C: Slot-in Electric Cooker: 685mm clearance
D: Slot-in Gas Cooker: 787mm clearance
Hob
When installed between adjoining wall
cabinets, the wall cabinets must not
overhang the hob and the distance
between the underside of the cabinet
and the worktop must be 450mm. If
the height of the wall cabinet is less
than 450mm, a gap of 50mm must be
maintained either side of the hob.
This cooker hood must not be instal-
led above a cooking appliance with a
high level grill.
Unpacking
The ttings supplied to install this cooker
hood can be found with the instruction
book inside the packaging:
120 - 125 mm ducting collar
Fitting the Cooker Hood
into the Housing/Canopy
The hood is xed to the housing using
the screw holes located around the
base of the casing. Access to the screw
holes will require the removal of the
metal grille panel.
Positioning the Cooker Hood
Measure the underside of the canopy or
kitchen cabinet to mark the position for
the cut-out. The cut-out measurement
should be:
- 497mm (19 5/8”) wide
- 259mm (10 1/4”) deep
Check the position of the hole is
correct with the measurements
above before making the cut-out.

Related product manuals