EasyManua.ls Logo

Electrolux ENN2841AOW - Funcionamiento

Electrolux ENN2841AOW
96 pages
Print Icon
To Next Page IconTo Next Page
To Next Page IconTo Next Page
To Previous Page IconTo Previous Page
To Previous Page IconTo Previous Page
Loading...
3. FUNCIONAMIENTO
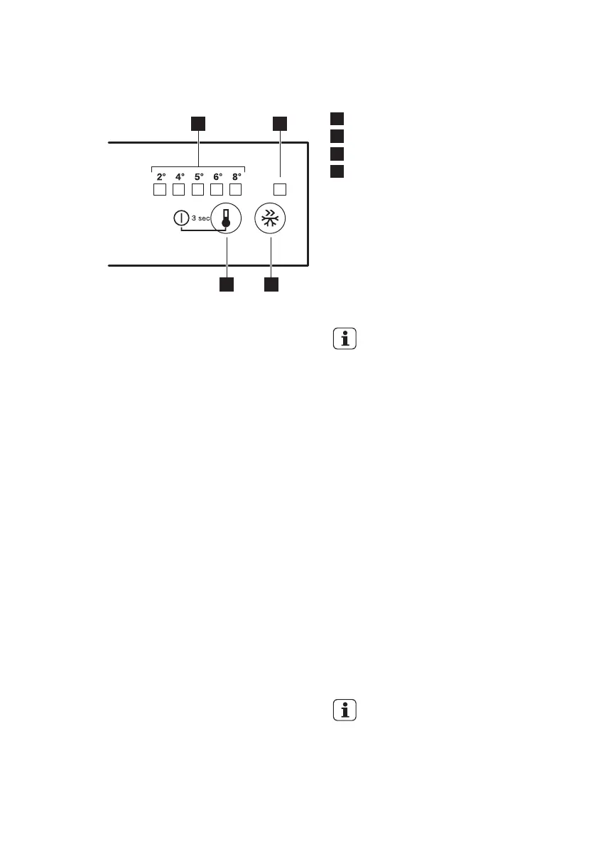
3.1 Panel de control
1 2
4 3
1
Indicador LED de temperatura
2
Indicador FastFreeze
3
Tecla FastFreeze
4
Regulador de temperatura
Tecla ON/OFF (encendido/apagado)
3.2 Encendido
1. Introduzca el enchufe en la toma de
pared.
2. Toque el botón del regulador de
temperatura si todos los LED están
apagados.
3.3 Apagado
Siga tocando el botón del regulador de
temperatura durante 3 segundos.
Todos los indicadores se apagan.
3.4 Regulación de la
temperatura
Para utilizar el aparato, toque el botón
del regulador de temperatura hasta que
se encienda el LED correspondiente a la
temperatura que desea. La selección es
progresiva y oscila de 2 a 8°C.
En el primer toque del botón, el ajuste
actual LED sigue parpadeando.
Cada vez que se toca el botón la
temperatura ajustada se mueve 1
posición. El LED correspondiente
parpadea un momento.
Toque el botón de ajuste hasta que se
seleccione la temperatura deseada. El
ajuste se fija
Ajuste más frío: +2°C.
Ajuste más alto: +8°C.
Lo más idóneo es ajustar la
temperatura en una posición
intermedia.
Sin embargo, el ajuste exacto debe
elegirse teniendo en cuenta que la
temperatura interior del aparato depende
de:
temperatura ambiente
la frecuencia con que se abre la
puerta
cantidad de alimentos guardados
ubicación del aparato.
3.5 Función FastFreeze
Para activar la función FastFreeze basta
con pulsar la tecla FastFreeze.
El LED correspondiente al indicador del
símbolo FastFreeze se enciende.
Para desactivar la función FastFreeze
basta con pulsar la tecla FastFreeze de
nuevo.
Se apaga el indicador FastFreeze.
La función se detiene
automáticamente después
de 52 horas.
www.electrolux.com80

Related product manuals