EasyManua.ls Logo

Electrolux Insight EIKG6046 - Oven Timer Control and Settings; Cancelling the Countdown; Automatic Oven Timer Operation

Electrolux Insight EIKG6046
40 pages
Print Icon
To Next Page IconTo Next Page
To Next Page IconTo Next Page
To Previous Page IconTo Previous Page
To Previous Page IconTo Previous Page
Loading...
8
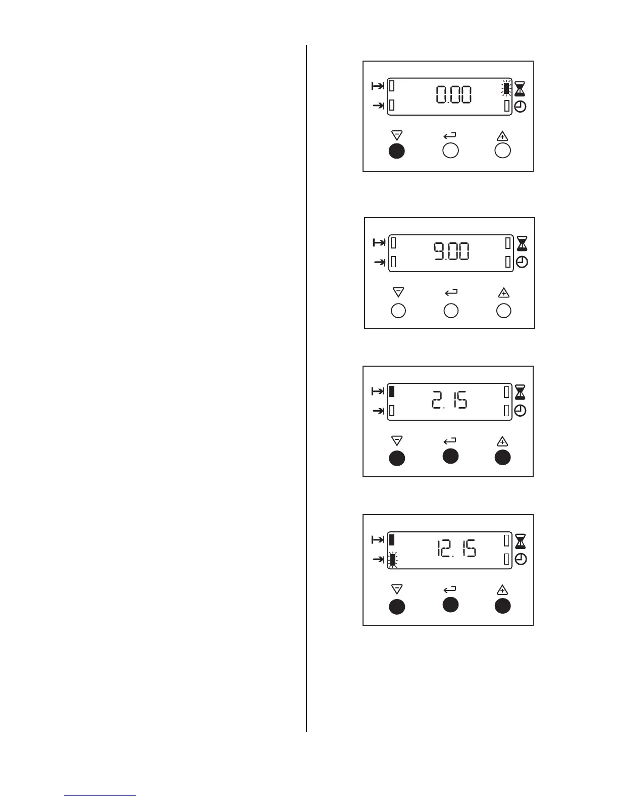
TO CANCEL THE COUNTDOWN
If you change your mind and want to cancel the
'Countdown', press the Selector Control button until
the 'Countdown' indicator neon flashes then depress
the decrease control (-) until 0.00 shows in the
display as Fig. 5. The 'Countdown' indicator neon
will continue to flash for a few seconds and then
return to the time of day.
3. SETTING THE OVEN TIMER CONTROL
The main oven only can be automatically timed.
When using the timer control for the very first time, it
is advisable to let it operate while you are at home.
The displays can be checked to show that it is
operating correctly and you will feel confident to
leave a meal to cook automatically in the future.
A) TO SET THE TIMER TO SWITCH ON
AND OFF AUTOMATICALLY
i) Ensure the electricity supply is switched ON and
that the correct time of day is displayed, e.g.
9.a.m. as Fig. 6.
ii) Place food in oven.
iii) To set the length of cooking time. Press the
Selector Control button until the 'Cook Time'
indicator neon is illuminated. Press the increase
control (+) until the required length of cooking
time is displayed, e.g. 2 hrs 15 mins as Fig. 7. If
necessary depress the decrease control (-) until
the correct time interval is achieved.
The maximum cooking time is 10 hours.
iv) Release the buttons. The 'Cook Time' indicator
neon will be illuminated.
Remember, this must be completed within 5
seconds of first pressing the Selector
Control button.
v) To set the 'End Time'. Press the Selector Control
button until the 'End Time' indicator neon
flashes. Press the increase control button (+)
until the required stop time is displayed, e.g.
12.15 p.m. as Fig. 8. If necessary depress the
decrease control (-) until the correct time interval
is achieved.
vi) Release the buttons. The time of day will be
displayed after 5 seconds. The 'Cook Time' and
'End Time' indicator neons will be illuminated.
The 'End Time' must not be more than 23 hours
59 minutes from the time of day. For example, if
the time of day is 09.00 a.m., the latest 'End
Time' would be 08.59 a.m. the next day.
vii) Set the main oven control to gas mark 9 then to
the gas mark you require.
Fig.5.
Fig.6.
Fig.7.
Fig.8.

Table of Contents

Other manuals for Electrolux Insight EIKG6046

Related product manuals