EasyManua.ls Logo

Electrolux Insight EIKG6046 - The Timer; Setting Time of Day; Setting Countdown Timer

Electrolux Insight EIKG6046
40 pages
Print Icon
To Next Page IconTo Next Page
To Next Page IconTo Next Page
To Previous Page IconTo Previous Page
To Previous Page IconTo Previous Page
Loading...
7
THE TIMER
KEY
A COOK TIME
B END TIME
C COUNTDOWN
D TIME
E DECREASE CONTROL
F SELECTOR CONTROL
G INCREASE CONTROL
NOTE: The time of day must be set before the
main oven will operate manually.
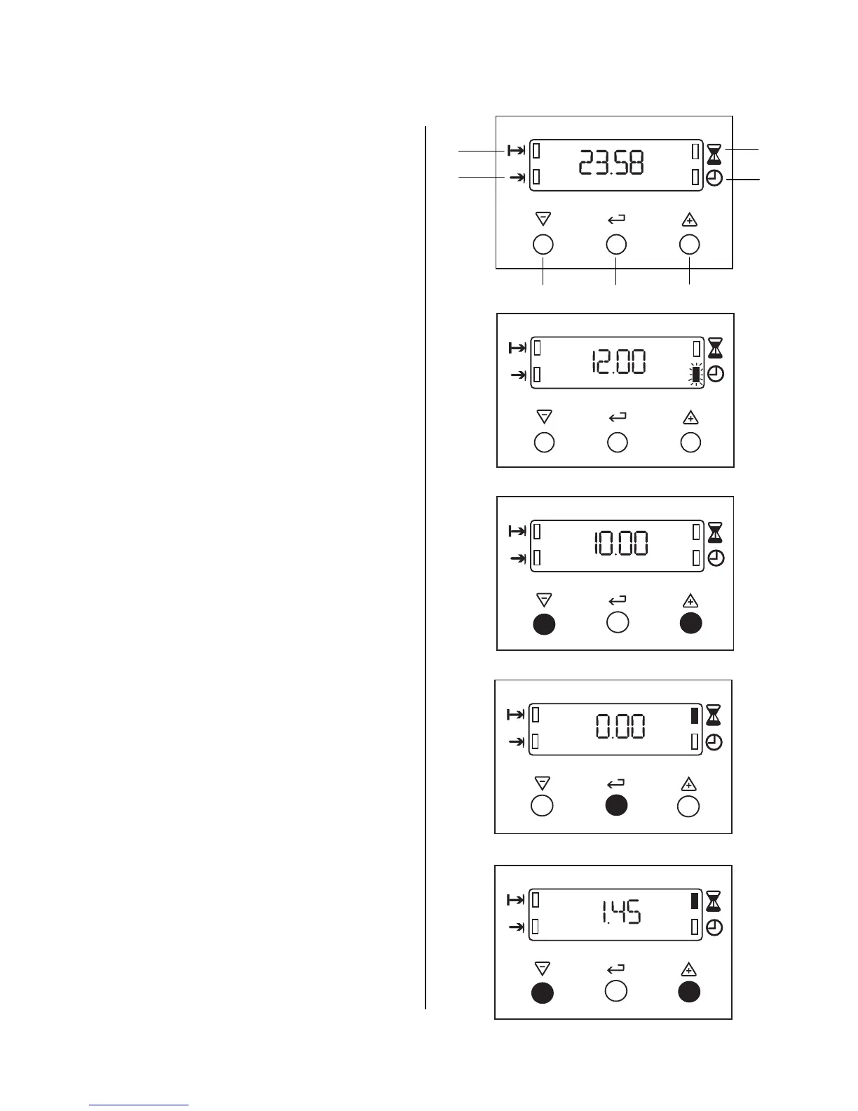
1. HOW TO SET THE TIME OF DAY
The oven has a 24 hour clock.
When the electricity supply is first switched ON, the
display will show 12.00 and the 'Time' indicator neon
will flash as Fig. 1.
To set the correct time press the increase control
button (+) and if necessary, the decrease control
button (-) until the correct time on the 24 hour clock
is reached, e.g. 10.00am as Fig. 2. The 'Time'
indicator neon will flash for 5 seconds and then go
out.
NOTE: The increase and decrease control
buttons operate slowly at first and then more
rapidly. They should be pressed separately.
2. HOW TO SET THE COUNTDOWN
The 'Countdown' gives an audible reminder at the
end of any period of cooking.
This cooking period may be up to 2 hrs 30 mins. It is
not part of the automatic control.
To set, press the Selector Control button until the
'Countdown' indicator neon is illuminated and the
display reads 0.00 as Fig. 3.
To set the correct time duration depress the increase
control (+) until the display indicates the interval to
be timed, e.g. 1hr 45 mins as Fig. 4. If necessary
depress the decrease control (-) to achieve the
correct time interval.
NOTE: This must be completed within 5 seconds
of first pressing the Selector Control button.
During the operation of the 'Countdown', the
remaining time period will be shown in the display.
The 'Countdown' will sound intermittently for up to 2
minutes at the end of the timed period. The sound
can be stopped by pressing any button.
G
F
E
D
C
B
A
Fig.3.
Fig.4.
Fig.1.
Fig.2.

Table of Contents

Other manuals for Electrolux Insight EIKG6046

Related product manuals