EasyManua.ls Logo

Electrolux LYB2AF82S - Panel de Control

Electrolux LYB2AF82S
56 pages
Print Icon
To Next Page IconTo Next Page
To Next Page IconTo Next Page
To Previous Page IconTo Previous Page
To Previous Page IconTo Previous Page
Loading...
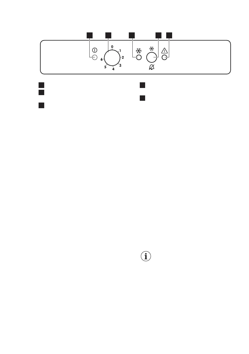
4. PANEL DE CONTROL
1 2 3 4 5
1
Indicador de funcionamiento
2
Regulador de la temperatura e
interruptor de Encendido/Apagado
3
Luz FastFreeze
4
Interruptor de FastFreeze y de
desconexión de la alarma
5
Luz de alarma
4.1 Encendido
1. Introduzca el enchufe en la toma de
pared.
2. Gire el regulador de temperatura
hacia la derecha, a un ajuste
intermedio.
Si la temperatura interior del aparato es
muy elevada, parpadea la luz de alarma
y suena una alarma acústica.
3. Pulse el interruptor FastFreeze para
desactivar la alarma acústica. El
indicador luminoso de alarma
parpadeará hasta que la temperatura
interna sea la necesaria para
conservar bien los alimentos
congelados.
4.2 Apagado
1. Gire el regulador de temperatura a la
posición "O".
El indicador de encendido se apaga.
2. Desenchufe el aparato de la toma de
corriente.
4.3 Regulación de la
temperatura
La temperatura se regula
automáticamente. Sin embargo, puede
configurar la temperatura del aparato
usted mismo.
El ajuste debe elegirse teniendo en
cuenta que la temperatura interior del
aparato depende de:
temperatura ambiente,
frecuencia de apertura de la puerta,
cantidad de alimentos guardados,
ubicación del aparato.
Lo más conveniente es ajustar la
temperatura en una posición intermedia.
Para utilizar el aparato:
1. Gire el regulador de temperatura
hacia la derecha para obtener una
temperatura más baja en el aparato.
2. Gire el regulador de temperatura
hacia la izquierda para obtener una
temperatura más alta en el aparato.
4.4 Función FastFreeze
FastFreeze se utiliza para realizar la
precongelación y la congelación rápida
en secuencia en el compartimiento del
congelador. Esta función acelera la
congelación de alimentos frescos e
impide que se calienten los alimentos ya
almacenados.
Para congelar alimentos
frescos, active la función
FastFreeze al menos 24
horas antes de introducir los
alimentos para completar la
precongelación.
Para activar la función:
1. Pulse el botón FastFreeze durante
2-3 segundos para activar la función
FastFreeze. Se enciende el indicador
FastFreeze.
2. Coloque los alimentos en el
compartimento congelador y deje la
función FastFreeze durante otras 24
ESPAÑOL 25

Related product manuals