EasyManua.ls Logo

Electrolux QT3549FX - Service; Control Panel

Electrolux QT3549FX
20 pages
Print Icon
To Next Page IconTo Next Page
To Next Page IconTo Next Page
To Previous Page IconTo Previous Page
To Previous Page IconTo Previous Page
Loading...
Unpack the appliance and check if there are damages on it. Do not connect the appliance
if it is damaged. Report possible damages immediately to the place you bought it. In that
case retain packing.
It is advisable to wait at least four hours before connecting the appliance to allow the
oil to flow back in the compressor.
Adequate air circulation should be around the appliance, lacking this leads to overheat‐
ing. To achieve sufficient ventilation follow the instructions relevant to installation.
Wherever possible the back of the product should be against a wall to avoid touching
or catching warm parts (compressor, condenser) to prevent possible burn.
The appliance must not be located close to radiators or cookers.
Make sure that the mains plug is accessible after the installation of the appliance.
Connect to potable water supply only.
4)
Service
Any electrical work required to do the servicing of the appliance should be carried out
by a qualified electrician or competent person.
This product must be serviced by an authorized Service Centre, and only genuine spare
parts must be used.
Environment Protection
This appliance does not contain gasses which could damage the ozone layer, in either its
refrigerant circuit or insulation materials. The appliance shall not be discarded together
with the urban refuse and rubbish. The insulation foam contains flammable gases: the
appliance shall be disposed according to the applicable regulations to obtain from your
local authorities. Avoid damaging the cooling unit, especially at the rear near the heat
exchanger. The materials used on this appliance marked by the symbol are recyclable.
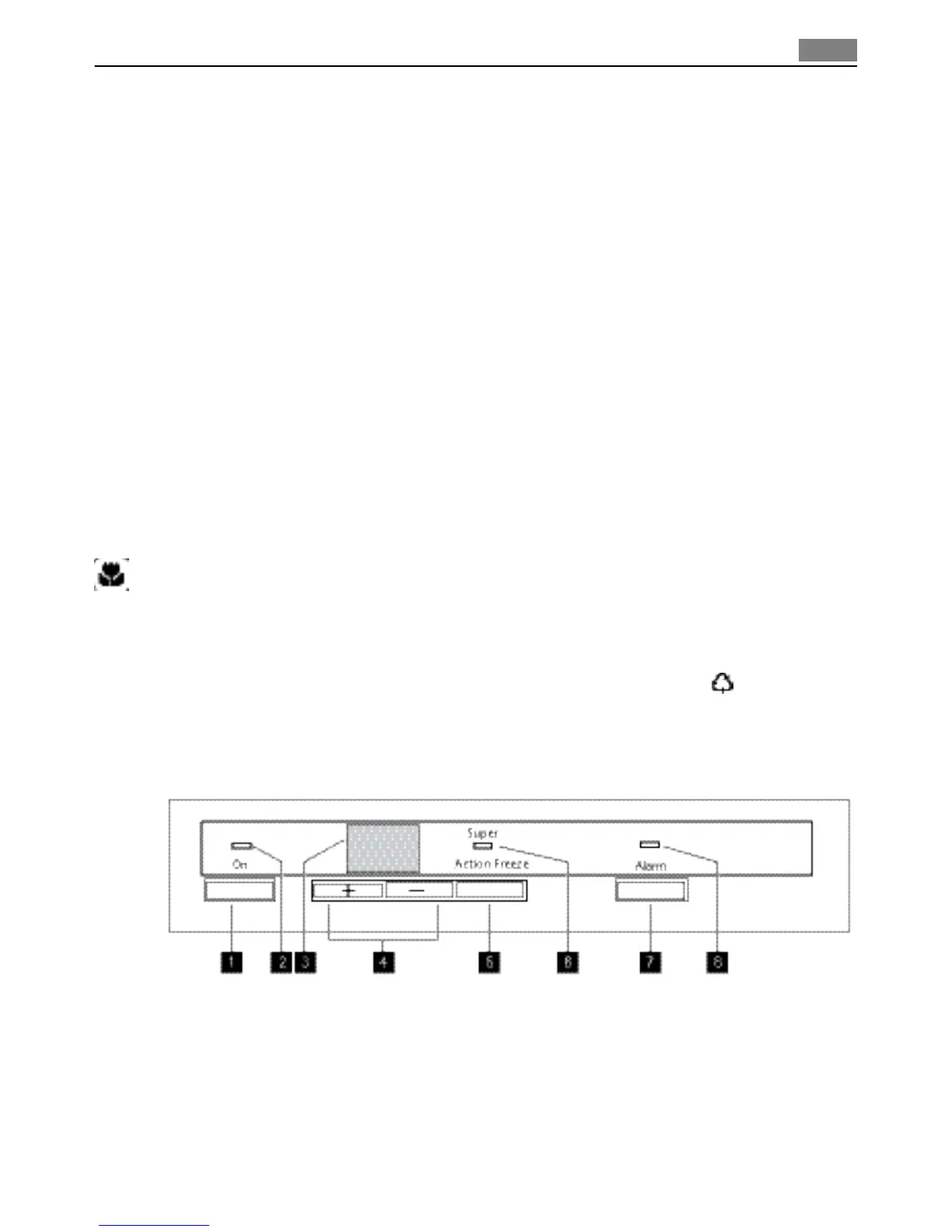
Control panel
1. On button
2. Pilot light
3. Temperature indicator
4. Temperature regulator, + and - buttons.
5. Super Action Freeze button
6. Super Action Freeze light
7. Alarm reset button
4) If a water connection is foreseen
Control panel
5

Related product manuals