EasyManua.ls Logo

Electrolux Unic Tango Ace - 8- Maintenance & Troubleshooting; Description of Cycles; Group Cycles

Electrolux Unic Tango Ace
124 pages
Print Icon
To Next Page IconTo Next Page
To Next Page IconTo Next Page
To Previous Page IconTo Previous Page
To Previous Page IconTo Previous Page
Loading...
35
ace
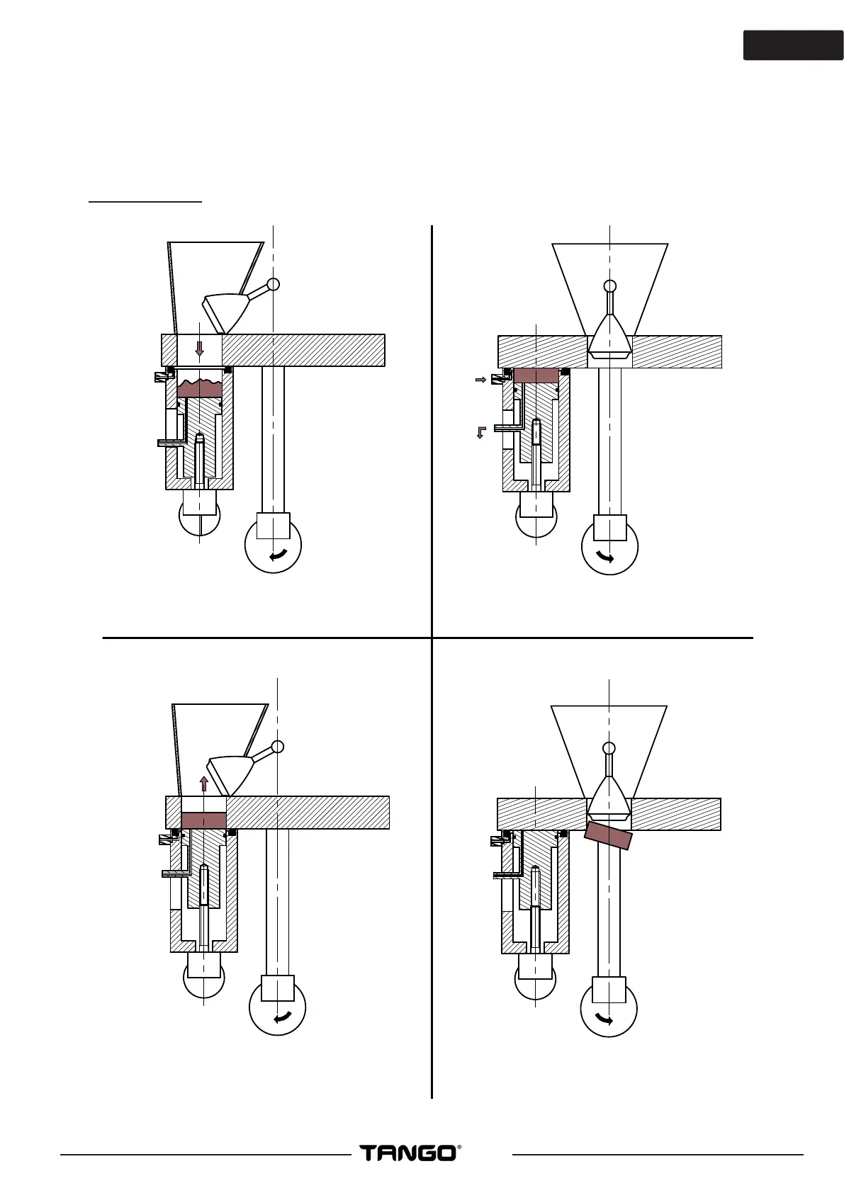
8- MAINTENANCE & TROUBLESHOOTING
Description of cycles
1 group Cycles
COFFEE GRINDING
INFUSION
GROUNDS EJECTION
STAND BY
CYCLE CAFE 1 GROUPE / COFFEE CYCLE 1 UNIT

Table of Contents

Related product manuals