EasyManua.ls Logo

Electrolux Unic Tango Ace - Cappuccino Cycle

Electrolux Unic Tango Ace
124 pages
Print Icon
To Next Page IconTo Next Page
To Next Page IconTo Next Page
To Previous Page IconTo Previous Page
To Previous Page IconTo Previous Page
Loading...
37
ace
01/07
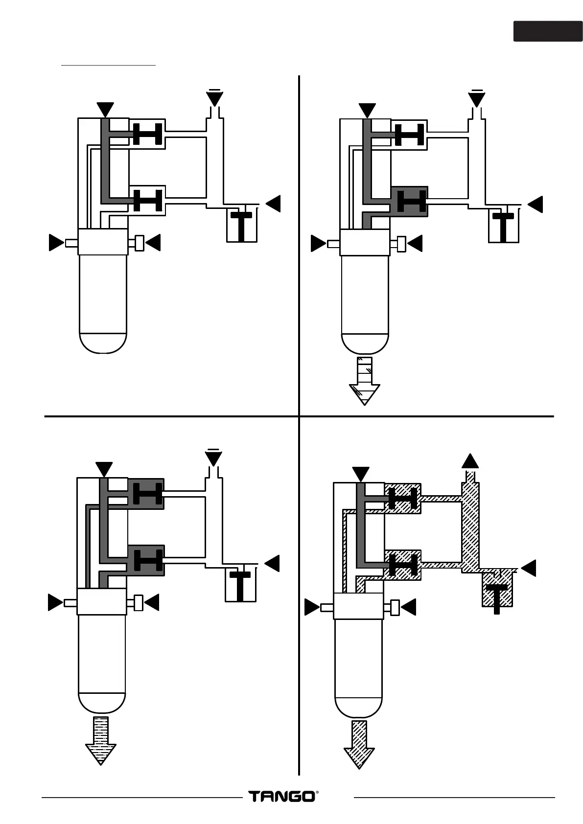
SCHEMA DE PRINCIPE DU CAPPUCCINO
SKELETON DIAGRAM FOR CAPPUCCINO
STAND BY
CAPPUCCINO CYCLE
HOT MILK CYCLE CLEANING CYCLE
MILK
HOT WATER
AIR
STEAM
CAPPUCCINO EV
HOT MILK EV
CLEANING EV
AIR
EVC.G
EVC.D
EVL.G
EVL.D
EVNC
MILK
HOT WATER
AIR
STEAM
CAPPUCCINO EV
HOT MILK EV
CLEANING EV
AIR
EVC.G
EVC.D
EVL.G
EVL.D
EVNC
MILK
HOT WATER
AIR
STEAM
CAPPUCCINO EV
HOT MILK EV
CLEANING EV
AIR
EVC.G
EVC.D
EVL.G
EVL.D
EVNC
LAIT
MILK
HOT WATER
AIR
STEAM
CAPPUCCINO EV
HOT MILK EV
CLEANING EV
AIR
EVC.G
EVC.D
EVL.G
EVL.D
EVNC
Cappuccino Cycle

Table of Contents

Related product manuals