EasyManua.ls Logo

Elson coral e - 7. SPARE PARTS LIST; 8. WIRING DIAGRAMS; 8.1 Upper immersion heater; 8.2 Lower immersion heater

Elson coral e
8 pages
Print Icon
To Next Page IconTo Next Page
To Next Page IconTo Next Page
To Previous Page IconTo Previous Page
To Previous Page IconTo Previous Page
Loading...
7
Coral E
9. FAULT FINDING
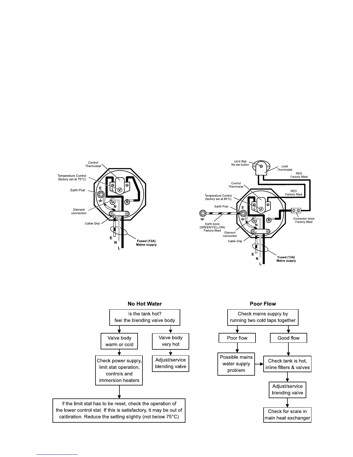
8. WIRING DIAGRAMS
8.1 Upper immersion heater
8.2 Lower immersion heater
Note: The mains supply to the upper heater must be via
a suitable controller which will not allow the heater to be
left on continuously. See Important Note 2 on page 3.
Item
Limit thermostat ................................................... 10010002
Control thermostat ............................................... EP051016
Standard immersion heater - complete (2 off)...... 90100001
Blending valve - complete .................................... EP100071
Runback timer ..................................................... EP09101
Part No.
7. SPARE PARTS LIST
The following specialist spare parts for the Coral E are readily available from Elsy & Gibbons Limited:-
7. Check that the control thermostat setting is correct for maximum performance (top at 75°C and bottom
at 85°C). The bottom thermostat may have been reduced slightly (not below 75°C) where it is known that hot
water demand will not be high.
8. Replace the covers.

Related product manuals