EasyManua.ls Logo

ELTEX ESR-200 - Page 8

Default Icon
19 pages
To Next Page IconTo Next Page
To Next Page IconTo Next Page
To Previous Page IconTo Previous Page
To Previous Page IconTo Previous Page
Loading...
8 ESR series routers
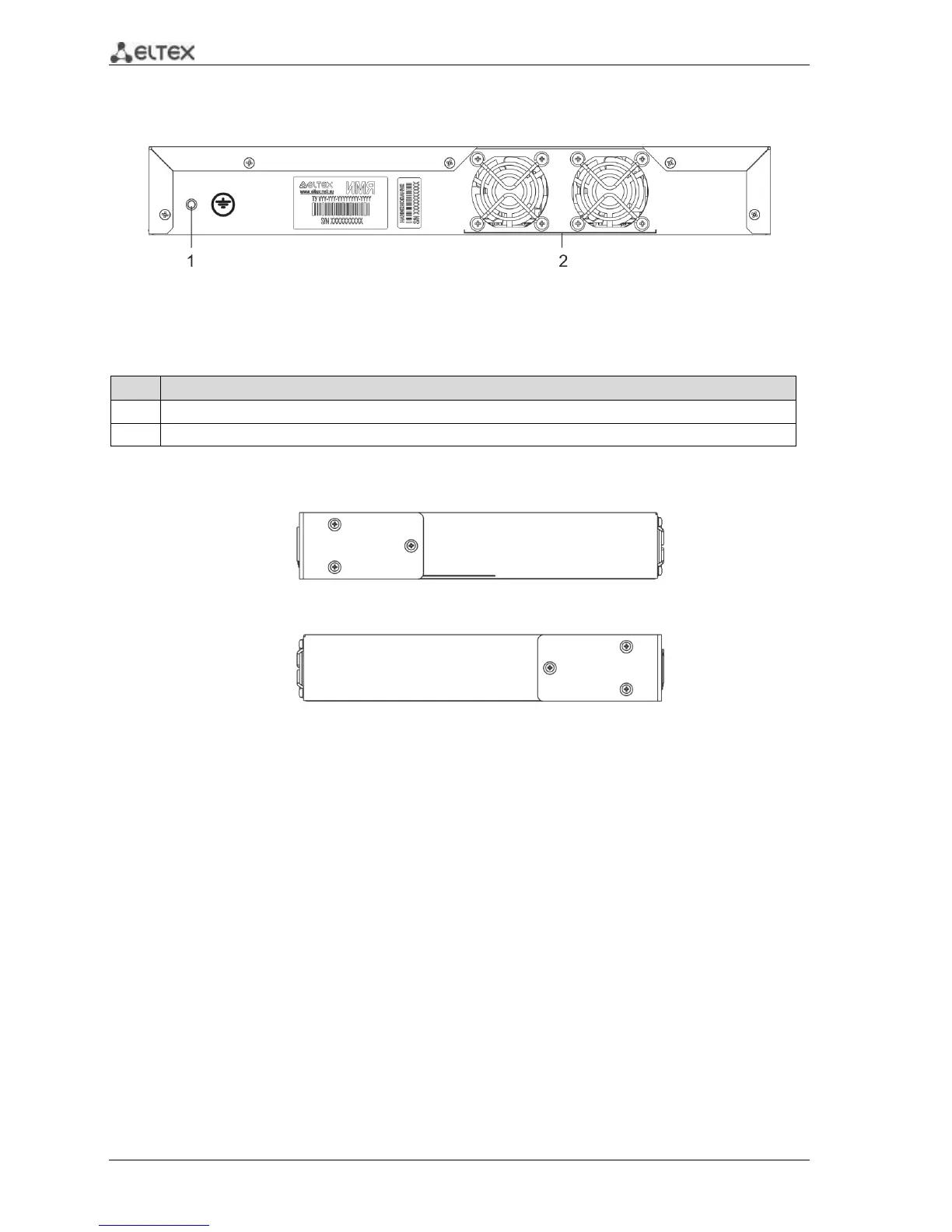
ESR-100 and ESR-200 back panels
Figure 2.8 - Back panel of ESR-100, ESR-200
The list of connectors located on the back panel of ESR100/200 is described in Table 2.5
Table 2.5 Description of connectors located on back panel of ESR-100, ESR-200
Description
1
Device earth bonding point.
2
Ventilation module.
ESR-100 and ESR-200 side panels
Figure 2.9 - ESR-100 and ESR-200 right-side panels
Figure 2.10 - ESR-100 and ESR-200 left-side panels

Other manuals for ELTEX ESR-200

Related product manuals