EasyManua.ls Logo

EMKO TRANS-AMF - Introduction; General Specifications

EMKO TRANS-AMF
29 pages
Print Icon
To Next Page IconTo Next Page
To Next Page IconTo Next Page
To Previous Page IconTo Previous Page
To Previous Page IconTo Previous Page
Loading...
4
MAINS
V12:380VV1V
Waitforstart
:220
V23:380VV2:220V
V31:380VV3:220V
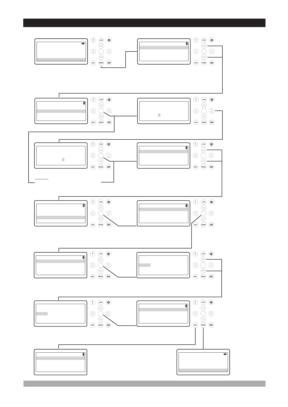
3.Changing AndSavingParametersValues
ü
OperationScreen
WhentheProgbuttonis
pressed,theparameters
sectionisaskedfor
accessingtoparameters.
ü
ü ü
ü
ü
ü ü
ü ü
ü
ü
PresstheUpor
Downbuttonsto
selectthesection
youwishto
view/change.
Pressthe
Enter
button.
Enterpassword
withcursor(Right,
Left,
) .
Upand
Down buttons
PresstheEnterbuttontoconfirm
password. Ifthepasswordis
incorrect,theunitwilldropoutof
programmode.
PresstheUpor
Downbuttonsto
selectthemain
parametergroup
youwishto
view/change.
Note1: IfEnterbuttonispressed
andthetechnicianpasswordis
zero,Passwordscreenisignored.
PressEnterbuttontoaccessto
allparameterspageincurrently
mainparametergroup.
Parametercanbe
changedwithUp
andDownbuttons.
PressEnterbuttonto
confirmthechangedvalue.
PROGRAM
Operatorsetting
Techniciansetting
Factoryadjustment
PROGRAM
Operatorsetting
Techniciansetting
Factoryadjustment
TECHNICIANSETTING
Password
0162
TECHNICIANSETTING
Password
0000
TECHNICIANSETTING
System
Mains
Generator
Engine
TECHNICIANSETTING
System
Mains
Generator
Engine
GENERATOR
Voltlevel
Frequencylevel
Currentlevel&act.
Powerlevel
GENERATORVOLTLEVEL
Undervoltshutdown
320Vac
GENERATORVOLTLEVEL
voltreset
Overvoltshutdown
Undervoltshutdown
Undervoltprealarm
Under
PresstheEnter
buttontoview
parametervalue.
PressEnterbuttonto
accesstoallparametersin
currentlyparameterpage.
GENERATORVOLTLEVEL
Undervoltshutdown
325Vac
GENERATORVOLTLEVEL
voltreset
Overvoltshutdown
Undervoltshutdown
Undervoltprealarm
Under
Operation
Screen
GENERATOR
Voltlevel
Frequencylevel
Currentlevel&act.
Powerlevel
WhentheEscapebuttonis
pressedanytime,previous
pagecanbeaccessed.
MAINS
V12:380VV1V
Waitforstart
:220
V23:380VV2:220V
V31:380VV3:220V
Toexitfrom
programmingmodeany
time,pressProgbutton.

Other manuals for EMKO TRANS-AMF

Related product manuals