EasyManua.ls Logo

Emos P56211 - Page 146

Emos P56211
212 pages
Print Icon
To Next Page IconTo Next Page
To Next Page IconTo Next Page
To Previous Page IconTo Previous Page
To Previous Page IconTo Previous Page
Loading...
146
Valige koht, kus pereliikmed veedavad suurema osa ajast, eelistatavalt siseseina
lähedal, kus õhk ringleb vabalt, otsese päikesevalguse eest eemal.
Ärge asetage termostaati soojusallikate (nt telerid, radiaatorid, külmikud)
lähedusse või ukse lähedusse. Nende soovituste mittejärgimine ei võimalda
ruumitemperatuuri õigesti reguleerida.
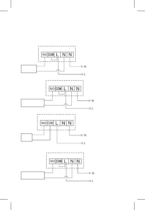
Lülitusseade elektriskeem
Pumba/motoriseeritud klapi ühendusskeem
Pump/
klapp
Põrandakütte ühendusskeem
Ühendatud
seade
Boileri ühendusskeem
Boiler
Eelnevalt paigaldatud sidestit ei ühendata.
Paisventiili/elektriajami ühendusskeem
Ühendatud
seade

Related product manuals