EasyManua.ls Logo

Emos P56211 - Page 203

Emos P56211
212 pages
Print Icon
To Next Page IconTo Next Page
To Next Page IconTo Next Page
To Previous Page IconTo Previous Page
To Previous Page IconTo Previous Page
Loading...
203
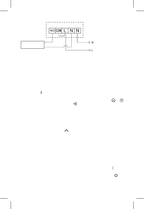
Aansluitschema expansieventiel/elektrische aandrijving
Aangesloten
toestel
INBEDRIJFSTELLING
Koppelen van de regeleenheid aan de schakeleenheid
Beide thermostaateenheden moeten voor het eerste gebruik gekoppeld worden.
Koppeling maakt de overdracht van informatie tussen de regeleenheid en de
schakeleenheid mogelijk.
Voor de instelling wordt automatische koppeling (self-learning) gebruikt.
1. Plaats de thermostaat voorzichtig op de staander.
Sluit de USB-bron met de micro USB-kabel aan op het 230 V elektriciteitsnet,
sluit de kabel aan op de staander.
2. Sluit de schakeleenheid correct aan op de stroombron, zet de hoofdschakelaar
in de stand en druk lang (min. 10 seconden) op de toets M/A, de groene LED
op de toets MANUAL zal beginnen te knipperen.
3. Druk op de thermostaat (zender) gelijktijdig lang alleen de toetsen en
gedurende ca. 5 seconden, de icoon begint te knipperen.
Binnen 1 minuut worden de twee eenheden gekoppeld, de groene LED op de
schakeleenheid stopt met knipperen.
Als u de koppelingscode van beide apparaten wilt wijzigen of als de thermostaat
niet goed werkt, herhaalt u de volledige koppelingsprocedure vanaf stap nr. 1 – de
koppelingscode wordt automatisch overschreven.
Testen van de draadloze communicatie tussen de toestellen
1. Stel in de app of met de toets op de thermostaat de temperatuurwaarde
een paar graden hoger in dan de huidige temperatuur in de kamer.
2. De rode LED op de schakeleenheid licht op.
3. Indien de LED niet oplicht, verplaats de regeleenheid dan dichter bij de
schakeleenheid.
Het bereik tussen de regel en de schakeleenheid bedraagt maximaal 100 m in
een open ruimte.
In binnenruimtes kan het bereik kleiner zijn door blokkering van het signaal door
muren en andere obstructies.
Hoofdschakelaar
Om de schakeleenheid in te schakelen, zet u de schakelaar in de stand .
Als het verwarmingssysteem gedurende langere tijd niet wordt gebruikt, is het
raadzaam de schakeleenheid uit te schakelen (hoofdschakelaar in stand ).

Related product manuals