EasyManua.ls Logo

Emos P56211 - Page 48

Emos P56211
212 pages
Print Icon
To Next Page IconTo Next Page
To Next Page IconTo Next Page
To Previous Page IconTo Previous Page
To Previous Page IconTo Previous Page
Loading...
48
Usunięcie termostatu z aplikacji (patrz rys. 11)
Kliknij dłużej na ikonę termostatu, zaznacz znacznikiem, a potem kliknij na ikonę
kosza, termostat zostanie skasowany.
Przegląd użytkownika/zmiana hasła/update aplikacji
Kliknij na dole z prawej na ikonę a potem na ikonę z prawej na górze.
Pojawi się menu dalszego ustawienia.
INSTALACJA
Ostrzeżenie:
Przed wymianą termostatu odłączamy system ogrzewania od głównego źródła
napięcia elektrycznego w swoim mieszkaniu. W ten sposób chronimy się przed
porażeniem prądem elektrycznym.
Montaż termostatu (patrz rys. 2)
Ustawiamy termostat w podstawce z kompletu wyposażenia.
Podłączamy zasilacz USB (z kompletu) z podłączonym przewodem micro USB
do sieci 230 V.
Przewód micro USB podłączamy do gniazdka w dolnej części podstawki.
Lokalizacja termostatu
Lokalizacja termostatu (jednostki nadajnika) zdecydowanie wpływa na jego
działanie.
Wybierz miejsce, w którym najczęściej przebywają członkowie rodziny, najlepiej
na wewnętrznej ścianie, gdzie powietrze swobodnie przepływa i gdzie nie sięga
bezpośrednie promieniowanie słoneczne.
Termostatu nie umieszczamy w pobliżu źródeł ciepła (telewizorów, grzejników,
chłodziarek) albo w pobliżu drzwi. Nieprzestrzeganie tych zaleceń spowoduje, że
temperatura w pomieszczeniu nie będzie poprawnie utrzymywana.
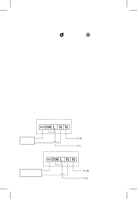
Schemat podłączenia jednostki przełączającej:
Schemat podłączenia pompy/zaworu silnikowego
Pompa/
zawór
Schemat podłączenia ogrzewania podłogowego
Podłączone
urządzenie

Related product manuals