EasyManua.ls Logo

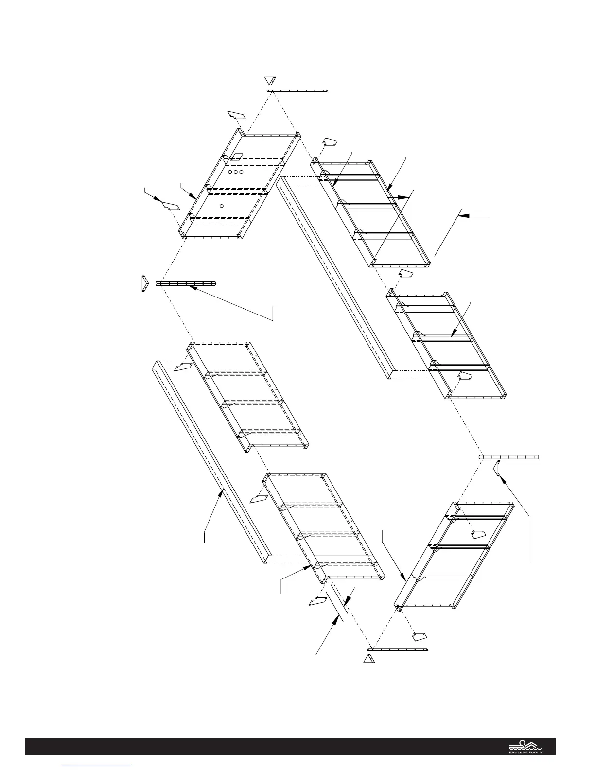
Endless Pools Pools - Exploded View of Panel Assembly

Endless Pools Pools
24 pages
Print Icon
To Next Page IconTo Next Page
To Next Page IconTo Next Page
To Previous Page IconTo Previous Page
To Previous Page IconTo Previous Page
Loading...
(1) 7', 8', 9', or 10' LONG
ACCESS PANEL
NOTE:
1. ALL PANELS ARE 14 GAUGE STEEL WITH A
2
1
/2 OUNCE (G235 CULVERT STOCK)
GALVANIZED COATING.
(4) 6', 7', or 8' LONG
PLAIN PANELS
(2) REINFORCING CHANNELS
11 GAUGE
6 5/8"(I.S.) x 11'-4" LG.
TOP RAIL
BASE RAIL
3'-6"
(TYP.)
Z-BRACE
3 1/2" 14 GAUGE
@ 24" ON CENTER
PER PANEL
NOTE: THESE DRAWING DIMENSIONS COMPLY WITH THE NATIONAL SPA AND
POOL INSTITUTE SUGGESTED MINIMUM STANDARDS FOR RESIDENTIAL POOLS.
FOR INFORMATION CONCERNING NSPI MINIMUM STANDARDS, WRITE: NATIONAL
SPA AND POOL INSTITUTE, 2111 EISENHOWER AVENUE, ALEXANDRIA, VA 22314
(703) 838-0083.
(1) 7', 8', 9', or 10' LONG
ACCESS PANEL
(10) GUSSETS 14 GAUGE
3 7/16" X 6 5/16" X 9 3/4"
(4) OUTSIDE SQ. CORNER
CAPS 14 GAUGE
1 1/2" X 1 1/2" X 6 7/16"
(4) OUTSIDE CORNER
ANGLES 14 GAUGE
1 1/2" X 1 1/2" X 39"
6 1/2"
EXPLODED VIEW OF PANEL ASSEMBLY
4

Related product manuals