Home
Ericsson
Telephone
GH 688
Page 51
Ericsson GH 688 - Page 51
112 pages
Manual
Save Page as PDF
To Next Page
To Next Page
To Previous Page
To Previous Page
Loading...
GH688,GA628, Standar
d Electrical Repairs
4/00021-2/FEA 209 544/1.G
51
(112)
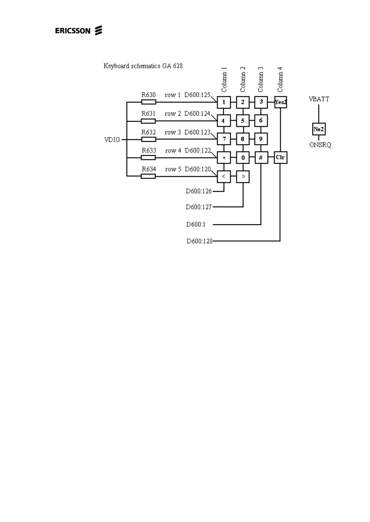
Fig. 8.4
•
If VDIG is correct, check if there is correct voltage (~3.2V) at mark
ed sides on
the pads of the faulty ke
ys (GH 688 shown on fig. 8.5, GA 628 on fig. 8.6).
50
52
Table of Contents
Main Page
Table of Contents
2
Conditions
3
Component Classes
3
Abbreviations
4
Pin Placements
6
No Serv or Can´t Place a Call
8
Doesn't Start
13
Audio
22
Display
30
Charging
38
SIM Fault ("Insert Card")
43
Keyboard
48
Illumination and Buzzer
55
Rtc
63
Component Lists
65
Explanation
65
Mounting Drawing Tables
66
Gh688
66
Ga628
66
Component List GH688
67
Revision Change Tables GH688
80
Revision Change Table for 2/ROA 117 3307/1 and 2/ROA 117 3307/5, 2/ROA 117 3307/3
80
Revision Change Table for 2/ROA 117 3307/4
84
2/Roa 11 73307/6
84
Component List GA628
88
Revision Change Tables GA628
100
Revision Change Table for
100
2/Roa 117 3308/1, 2/Roa 117 3308/2
100
Revision Change Table for
104
2/Roa 117 3308/3, 2/Roa 117 3308/4
104
Revision Change Table for 2/ROA 117 3308/5, 2/ROA 117 3308/7
109
Related product manuals
Ericsson GH337
55 pages
Ericsson MD110
10 pages
Ericsson DIALOG
34 pages
Ericsson Dialog 3213
132 pages
Ericsson 203 Digital
26 pages
Ericsson Basic telephone
68 pages
Ericsson iPECS LIP-8002E
287 pages
Ericsson BUSINESSPHONE 50
120 pages
Ericsson Dialog 4106 Basic
84 pages
Ericsson DIALOG 4222 OFFICE
119 pages
Ericsson Dialog 4225 Vision
137 pages
Dialog 4223 Professional
137 pages