EasyManua.ls Logo

ESAB COOL 1 - Description of Operation; 5 AP1:1 Monitoring the Coolant Flow; 5 AP1:2 Pump Motor and Fan ON;OFF

ESAB COOL 1
18 pages
Print Icon
To Next Page IconTo Next Page
To Next Page IconTo Next Page
To Previous Page IconTo Previous Page
To Previous Page IconTo Previous Page
Loading...
S0740 800 210/E101102/P18
- 6 -
ck10_05
DESCRIPTION OF OPERATION
This description of operation describes the function of circuit boards and other components
in the equipment.
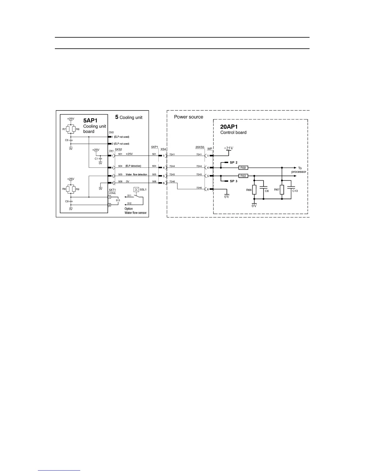
5 Cooling unit
5AP1:1 Monitoring the coolant flow
Circuit diagram for coolant flow guard
COOL1 is prepared for optional coolant flow monitoring. Replace the jumper cable 513 with
the flow guard sensor, 5SL1, and connect it to terminal block 5XT1 (CN4) on cooling unit
board, 5AP1. The sensor switch opens at flow rate < 0.7 l/min. The MMC panel of the
system displays fault code 29 ,(no cooling water flow), if the input to the processor is high.
(Measure at point SP3 on 20AP1)
Supervision of hoses connection, ELP (ESAB Logic Pump) is not installed in COOL1.
5AP1:2 Pump motor and fan ON/OFF
The pump motor, 5M1, and cooling fan, 5EV1, are connected in parallell and powered from
the power supply board, 2AP3, in the power source. The power is 25V DC and named
25V_WP in the cooling unit board, 5AP1.
An output from the processsor on control board 20AP1 connects input 20XS5:2 (WP2) to
0V. (Measure at point SP1 on 20AP1). Transistor Q2 in cooling unit board, 5AP1, connects
pump motor and fan to 0V, and the pump and fan start.
The pump, 5M1, has an enclosed coolant pressure switch, 5S1, which switches off the
power to the pump motor if the coolant pressure is too high. This can occur if a hose is
folded which make flow to fail or stop. The cooling fan however is still powered and running.

Related product manuals