EasyManua.ls Logo

ESP Ecocent 300L - Fan Mode Settings; Locking the Keyboard; Parameters

ESP Ecocent 300L
40 pages
Print Icon
To Next Page IconTo Next Page
To Next Page IconTo Next Page
To Previous Page IconTo Previous Page
To Previous Page IconTo Previous Page
Loading...
30of 36
ESP400-10-200L and 300L
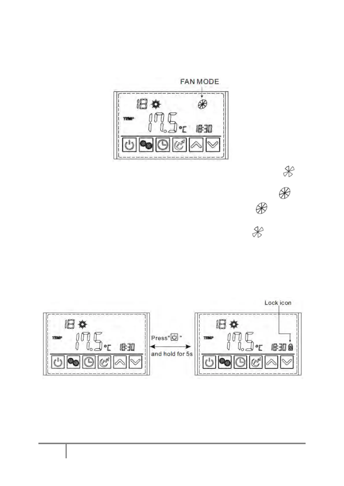
8.3.7 Fan mode settings.:
The fan mode can be used for two purposes: The fan speed in heating mode can be set or the fan can be set to
run even when the unit is in standby to provide additional ventilation.
Press and hold the electric heater button for 2 Secs. The fan mode symbol will change to (running)
which indicates that the fan will run at slow speed even when the target temperature is reached.
Pressing the same button for a further 2 Secs and the fan mode symbol will change to
(running) which indicates that the fan will run at high speed even when the temperature target has
been reached.
Pressing the button for a third time will cause the fan mode symbol to change once more to (Static)
which indicates that the fan will run at high speed only when there is a need for heating and until the target
temperature has been reached.
Pressing the button for a forth time will cause the fan mode symbol to change to (Static)
which indicates that the fan will run at slow speed only when there is a need for heating and until the target
temperature has been reached.
8.3.8 Locking the Keyboard:
To lock the keyboard, press and hold the on/off button for 5 Secs. Pressing it again for 5 Secs will unlock the
keyboard. When the keyboard is locked, the lock icon will be displayed in the bottom right corner of the main
display area.
8.3.9 Parameters;
The only parameter that can be set by the user is the target temperature which is set, by default to 55°C.

Table of Contents

Related product manuals