EasyManua.ls Logo

EverFocus 410M - Monitor Display

EverFocus 410M
84 pages
Print Icon
To Next Page IconTo Next Page
To Next Page IconTo Next Page
To Previous Page IconTo Previous Page
To Previous Page IconTo Previous Page
Loading...
1.5 MONITOR DISPLAY
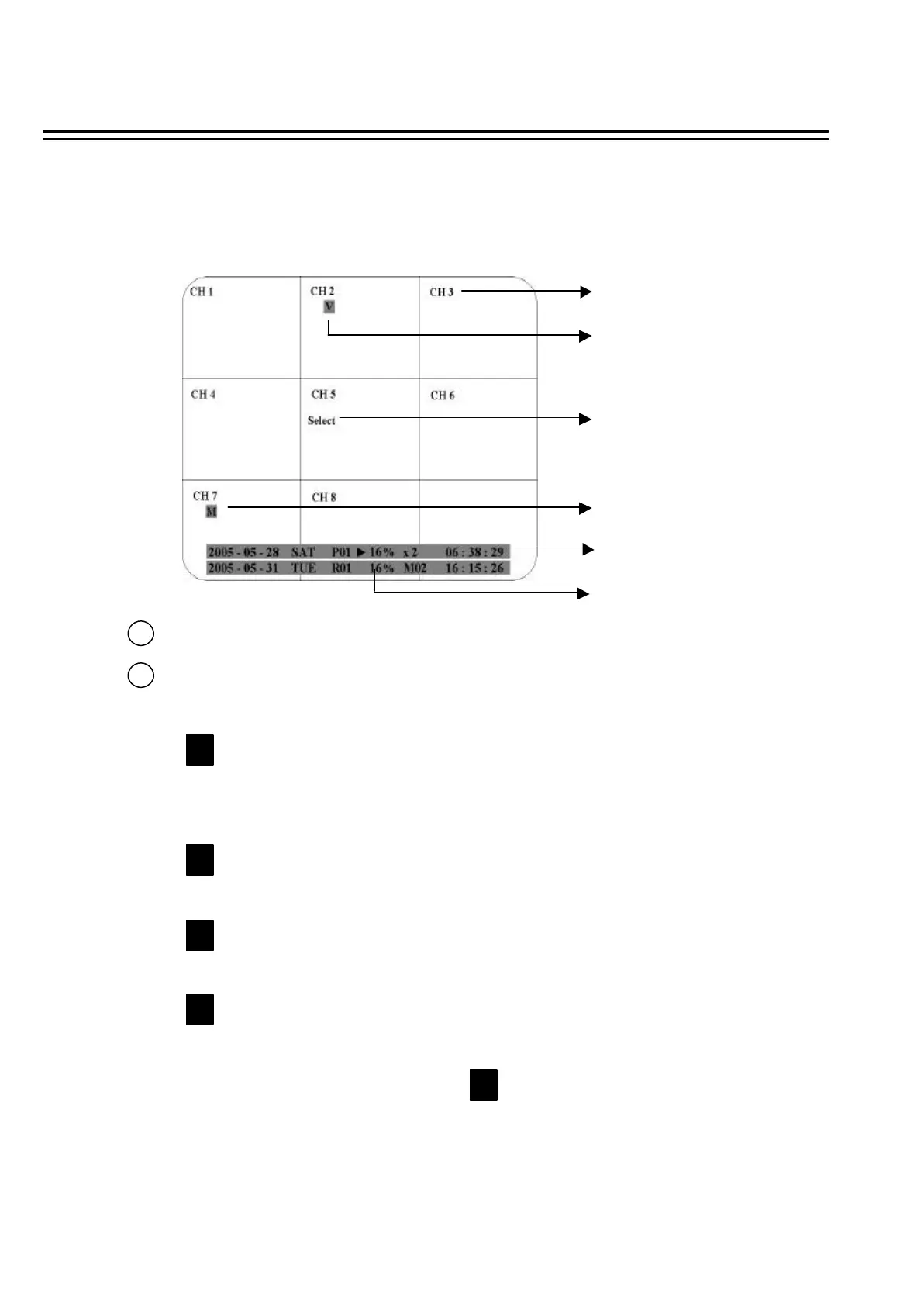
1. Channel tag
2. Event sign
3. Select sign
2. Event sign
4. Play status bar
5. Record status bar
2
Channel tag: A channel tag indicates the channel name of the screen.
Event sign: Event signals which are small icons with a capital letter and red background show the
events on each screen. There are 4 different signals which are
: Alarm event. The alarm place where the camera locates. In order to show the
camera video to a corresponding alarm, setting a FOCUS CAMERA in ALARM
SETUP MENUis necessary.
: Motion event. Motion event only shows up when the cameras MOTION is enabled
in MOTION SETUP MENU, and the camera detects a motion.
: Video loss event. Video loss event only shows when the cameras VLOSS is
enabled in VLOSS SETUP MENU, and the camera signal is lost.
: Sequence sign. Sequence sign shows up when the display is in the sequence mode.
The sequence display is located on display with a sign in 4, 7, Full screen and PIP
(picture in picture) display mode. The sign will replace sign in the
display when sequence occurs.
M
A
V
S
S
The status information of the cameras or machine will show up, and be located at different places on the
screen.
1
17

Other manuals for EverFocus 410M

Related product manuals