EasyManua.ls Logo

Exerpeutic Traction Table - Assembly Guide; Step 1: Hardware Removal & Crank Wheel Installation

Exerpeutic Traction Table
21 pages
Print Icon
To Next Page IconTo Next Page
To Next Page IconTo Next Page
To Previous Page IconTo Previous Page
To Previous Page IconTo Previous Page
Loading...
8
ASSEMBLY
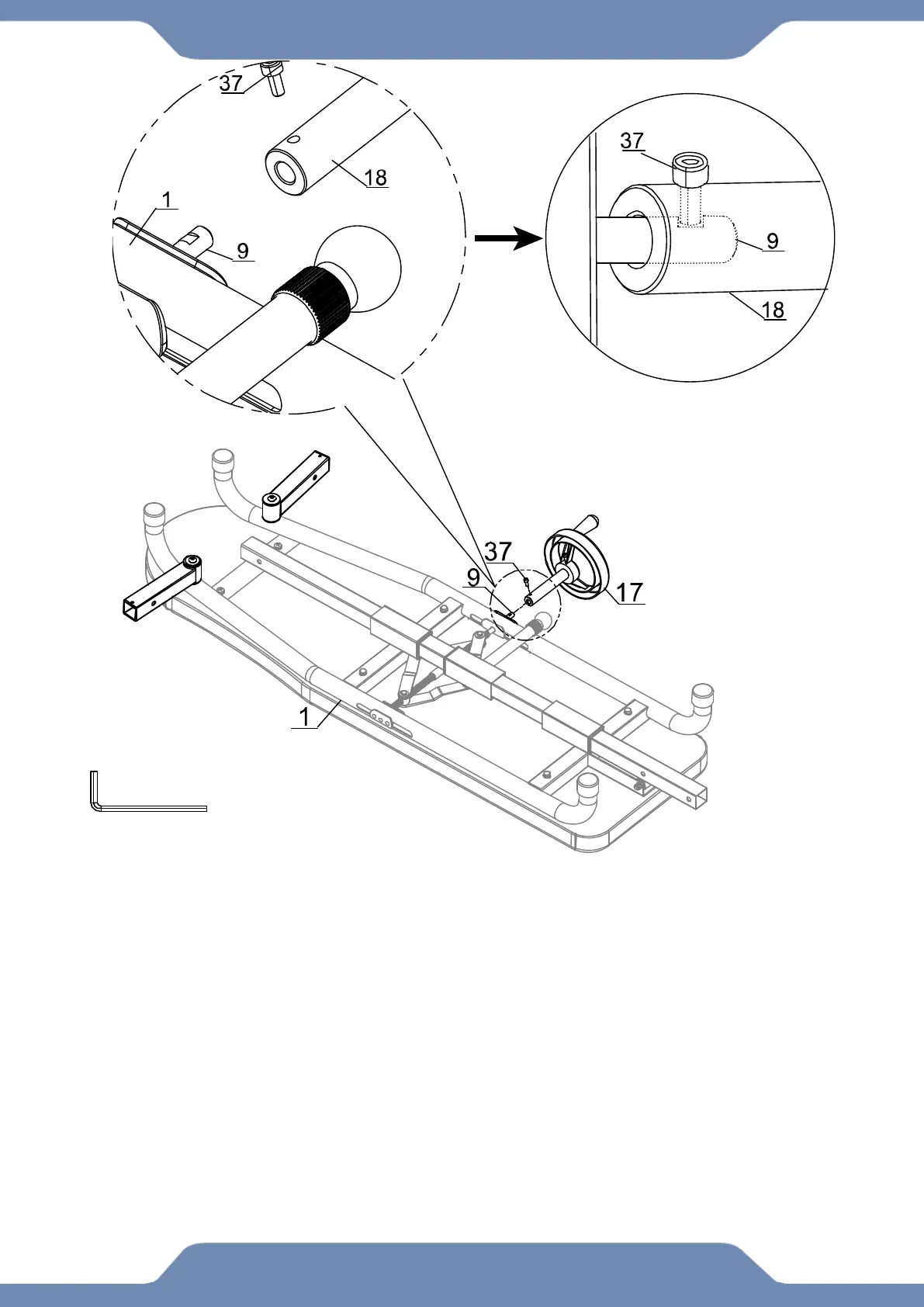
Step 1
Hardware Removal
1A. Remove one Round Head Hex Bolt (37) from the Axle (18) by using 3mm Allen Wrench
provided. .
Installing the Crank Wheel
1B. Insert Crank Wheel (17) onto the Drive Screw (9) on the Main Frame (1) and tighten with
one Round Head Hex Bolt (37) by using 3mm Allen Wrench provided. NOTE* make sure the
Round Head Hex Bolt (37) fits into the flat spot on the Drive Screw (9). NOTE* tilt the
handle on the Crank Wheel (17) to use handle. To put it away pull the handle outward and
tilt it into the Crank Wheel (17).
Tool:
3mm Allen Wrench 1PC

Related product manuals