EasyManua.ls Logo

Exmark Metro HP - Page 18

Exmark Metro HP
44 pages
Print Icon
To Next Page IconTo Next Page
To Next Page IconTo Next Page
To Previous Page IconTo Previous Page
To Previous Page IconTo Previous Page
Loading...
- 13 -
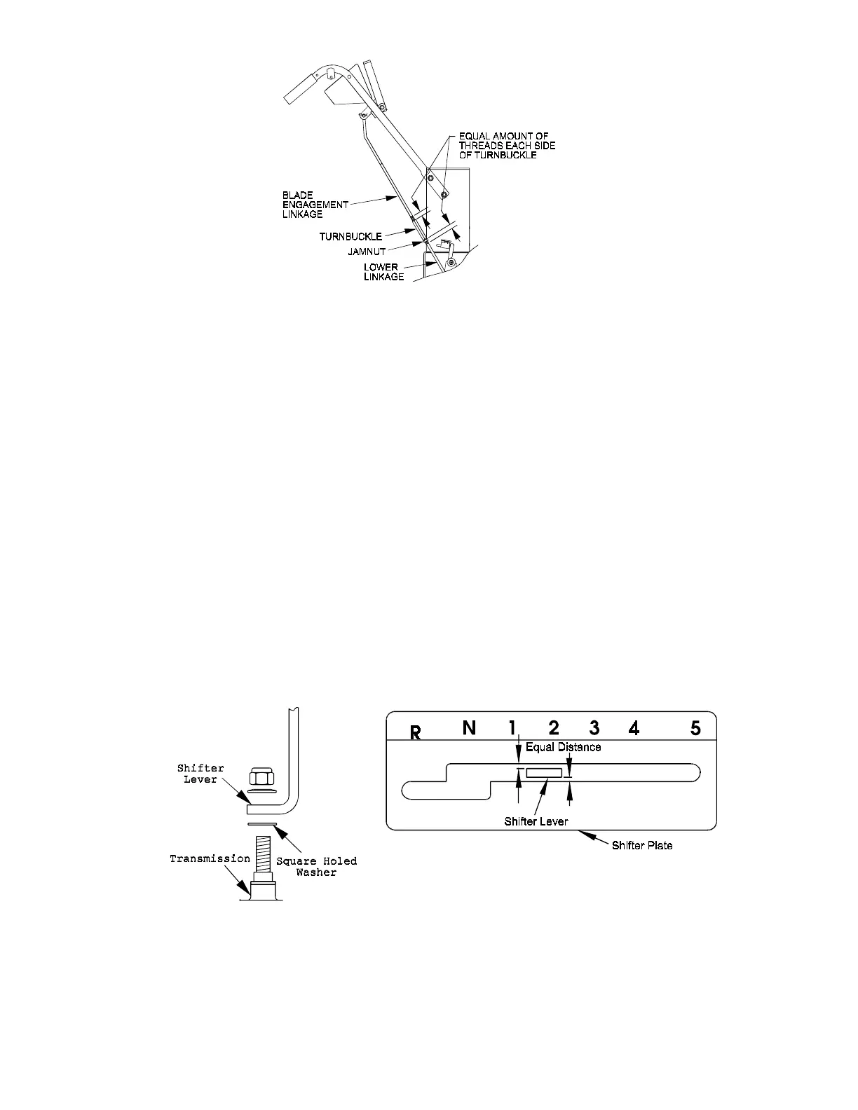
FIG 5
BLADE ENGAGEMENT LINKAGE
3.10 Install and adjust shifter lever.
a) Remove the 3/8” nyloc nut and spring disc washer from the stud on top of
the transmission. Install the shifter lever through slot in shifter lever plate
and onto the stud on top of transmission. Be sure the square-hole washer
remains between the lever and transmission. Replace the spring disc
washer and nyloc nut(see figure 6). Torque the 3/8” nut to 35ft. lbs.
(47N.M).
b) Shift lever to second gear and check alignment of lever in slot of shifter
plate. Clearance between top of lever and the top of the slot should be
about equal to the clearance between bottom of the lever and the bottom
of the slot (See figure 7). If it is not, remove lever and bend it slightly to
adjust. DO NOT Bend lever while it is attached to transmission. Reinstall
lever and tighten hardware.
c) Shift to neutral position. Lever Should not contact the left edged of the
upper slot. Push lever down. Lever should not contact the right edge of
the bottom slot (See Figure 8). Shifter plate can be adjusted side to side
to adjust position of lever relative to the slot in plate. Loosen the two
bolts securing the shifter plate to the shifter lever legs. Adjust shifter
plate and retighten bolts.
FIG. 7
THIS CLEARANCE SHOULD BE EQUAL
FIG. 6
SHIFTER LEVER
TO TRANSMISSION
For Exmark Mower Parts Call 606-678-9623 or 606-561-4983
www.mymowerparts.com

Other manuals for Exmark Metro HP

Related product manuals