EasyManua.ls Logo

EXPERT GRILL 720-0968CD - Nettoyage et Entretien

EXPERT GRILL 720-0968CD
56 pages
Print Icon
To Next Page IconTo Next Page
To Next Page IconTo Next Page
To Previous Page IconTo Previous Page
To Previous Page IconTo Previous Page
Loading...
Nettoyage et entretien
28
Avertissement : pour le remplacement du brûleur
principal, nous recommandons vivement que vous
engagiez un technicien professionnel qui se chargera
de l'opération. Sachez que nous ne pouvons pas
assurer la responsabilité des blessures ou dommages
matériels qui pourraient survenir suite à une
installation incorrecte du brûleur.
ACIER INOXYDABLE
Il existe plusieurs produits de nettoyage pour l'acier
inoxydable. Utilisez toujours la procédure de nettoyage la
plus douce, en frottant dans le sens du grain. N'utilisez pas
de laine d'acier qui raye la surface. Pour retoucher les
rayures visibles dans l'acier inoxydable, poncez légèrement
avec du papier d'émerit abrasif 100 dans le sens du grain.
Des taches de graisse peuvent s’accumuler sur les surfaces
en acier inoxydable et cuire donnant l'apparence de la
rouille. Pour les nettoyer, utilisez un tampon moyennement
abrasif avec un produit de nettoyage pour acier inoxydable.
GRILLE DU GRIL
Le meilleur moyen de nettoyer le gril consiste à le nettoyer
immédiatement après avoir cuisiné et éteint la flamme.
Portez des gants spéciaux pour le barbecue afin de
protéger vos mains de la chaleur et de la vapeur. Trempez
une brosse de barbecue en cuivre dans l’eau et frottez le
gril chaud. Trempez fréquemment la brosse dans le bol
d’eau. La vapeur générée lorsque l’eau entre en contact
avec le gril chaud facilite le nettoyage en amollissant les
particules d’aliments. Si vous ne nettoyez pas le gril de suite
et le laissez refroidir avant de procéder au nettoyage,
l'opération sera plus difficile.
ASSUREZ-VOUS QUE L’ALIMENTATION DU GAZ ET
LES BOUTONS SONT EN POSITION . VEILLEZ À
CE QUE LES BRÛLEURS EN HAUT AIENT REFROIDI
AVANT DE LES ENLEVER.
BRÛLEURS DU GRIL
Prenez toutes les précautions nécessaires lorsque vous
déplacez un brûleur qui doit toujours être correctement
centré sur l’orifice avant de rallumer le gril. La fréquence du
nettoyage dépend des utilisations de votre gril.
NETTOYAGE DU BRÛLEUR PRINCIPAL DU GRIL
Assurez-vous que l’alimentation du gaz et les boutons
soient en position ”. Assurez-vous que le gril ait refroidi.
Nettoyez l’extérieur du brûleur avec une brosse métallique.
Nettoyez le tartre le plus tenace avec un grattoir métallique.
Débloquez les ports bouchés avec un clip que vous dépliez.
N’utilisez jamais de cure-dents en bois. Ils peuvent se briser
et boucher l’orifice. Si des insectes ou tout autre type
d’obstruction ont bloqué le flux du gaz du brûleur, vous
devez appeler notre service clientèle au 1-833-908-2026
aux États-Unis.
NETTOYAGE DU PLATEAU À GRAISSE
Le plateau à graisse doit être vidé et essuyé
périodiquement, puis lavé dans une solution de savon doux
et d'eau tiède. Une petite quantité de sable peut être placée
dans le fond du plateau à graisse afin d'absorber la graisse.
Vérifiez souvent le plateau à graisse et ne laissez pas
d’excès de graisse s'accumuler et déborder du plateau à
graisse.
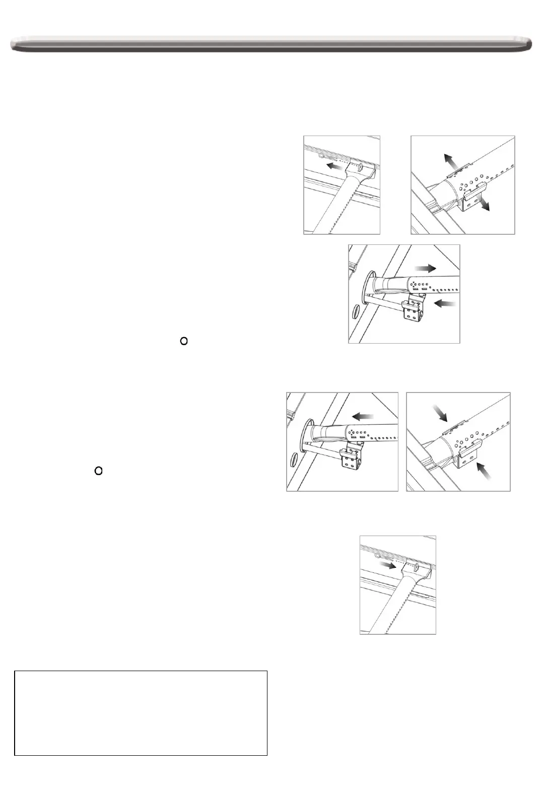
COMMENT REMPLACER LE BRÛLEUR PRINCIPAL
Étape 1. Retirer la broche bruleur principal de “R” sur le mur
arrierede la boite a feu en utilisant une pince. Utiliser un
tournevis plat pour retirer le couvercle de l’axe de bruleur,
puis retirez le bruleur sur la paroi avant de la boite a feu.
Comme indique ci-dessous.
Étape 2. Inserez le bruleur sur l’orifice et fixer le couvercle de
la broche du bruleur sur le bruleur comme indique ci-
dessous. Assurez-vous que le trou du bruleur visant a orifice.
Étape 3. Fixer le bruleur principal sur le mur arriere de la
boite de feu avec “R” broche.
MISE EN GARDE
1. Gardez la zone de l'appareil au gaz pour cuisson à
l'extérieur libre de tout matériau combustible, essence et
autres vapeurs et liquides inflammables.
2. Ne pas bloquer le courant de combustion et de
ventilation.
3. Nettoyez toujours les débris des ouvertures de
ventilation de la bouteille.

Related product manuals