EasyManua.ls Logo

FAAC TM2 R - Conexiones Eléctricas

FAAC TM2 R
Print Icon
To Next Page IconTo Next Page
To Next Page IconTo Next Page
To Previous Page IconTo Previous Page
To Previous Page IconTo Previous Page
Loading...
TM2 R 71 A4516_6G66_Rev.C
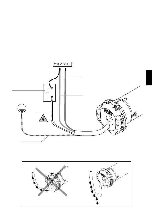
CONEXIONES ELÉCTRICAS
- Para evitar situaciones de peligro o de funcionamiento defectuoso, los elementos
eléctricos de mando conectados al motor deben dimensionarse en función de
las características eléctricas del propio motor.
- La red de alimentación debe disponer de dispositivos de desconexión de acuer-
do con las reglas de instalación nacionales.
- En caso de uso en el exterior, utilizar un cable de alimentación del tipo H05RN-F
con un contenido mínimo de carbono del 2 %.
- Si no se utiliza el cable blanco o negro, debe quedar siempre bien aislado. Es
peligroso tocar el cable blanco o negro cuando el motor está conectado a la
alimentación.
pulsador opcional*
marrón
azul
blanco o
negro
amarillo - verde
* La instalación del pulsador es opcional: la conexión puede realizarse con la fase
(cable marrón) o con el neutro (cable azul) indiferentemente. Con el pulsador se
puede controlar el motor en modo paso-paso (subir, detener, bajar, detener, ...).
ES

Related product manuals