EasyManua.ls Logo

Fanmaster HDR20 - Wiring Diagram

Fanmaster HDR20
16 pages
Print Icon
To Next Page IconTo Next Page
To Next Page IconTo Next Page
To Previous Page IconTo Previous Page
To Previous Page IconTo Previous Page
Loading...
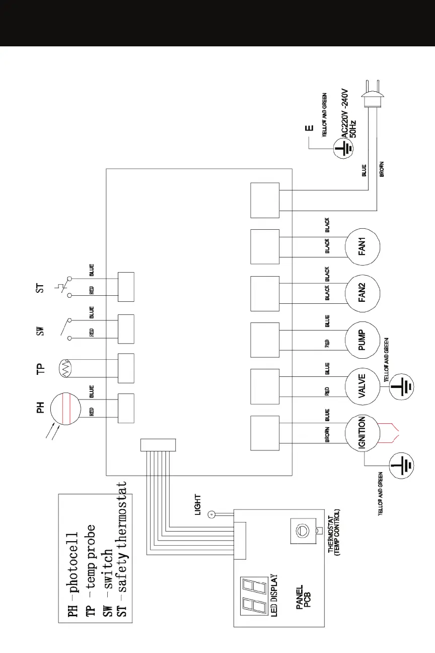
6. WIRING DIAGRAM

Related product manuals