EasyManua.ls Logo

FATEK FBs-4A2D - Page 333

FATEK FBs-4A2D
348 pages
Print Icon
To Next Page IconTo Next Page
To Next Page IconTo Next Page
To Previous Page IconTo Previous Page
To Previous Page IconTo Previous Page
Loading...
Appendix 2-6
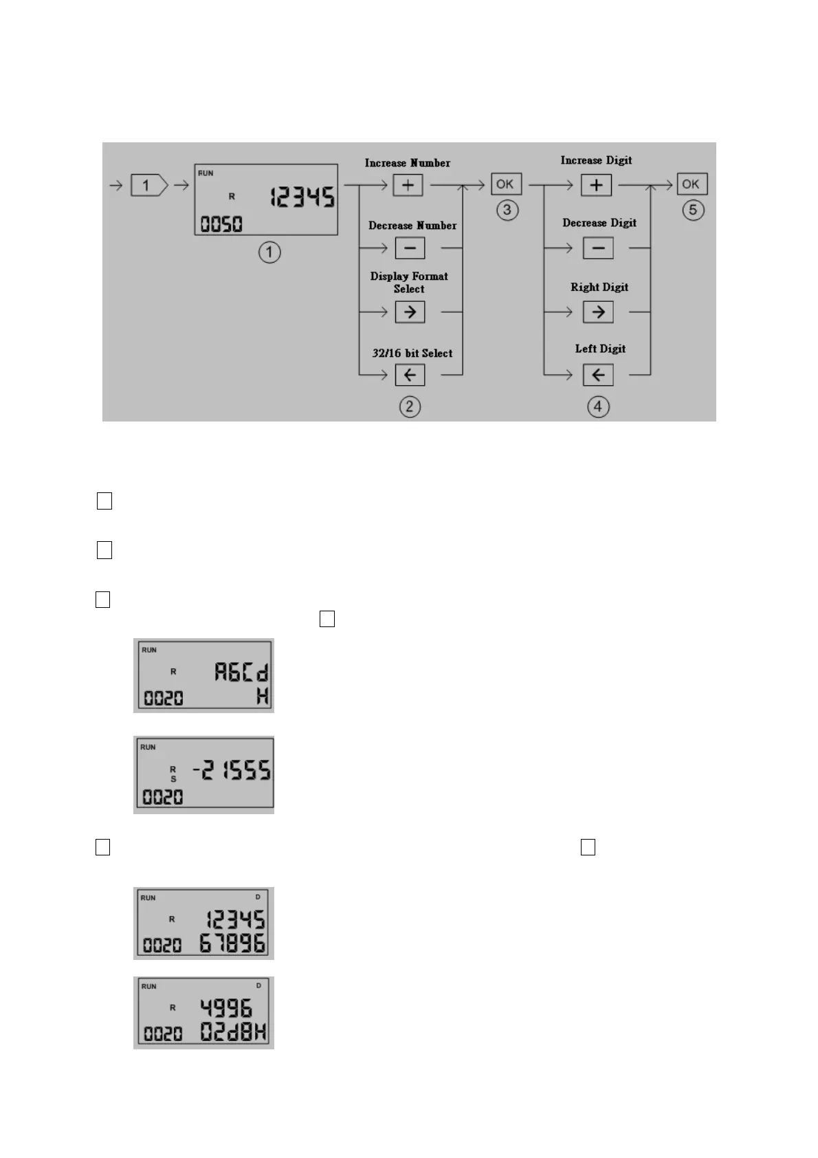
Register Status Monitoring:
1
Default unsigned 16 bit decimal value display
2
Adjust the reference number and select the display format
key: Increase the reference number by one when 16 bit display format, by two
when in 32 bit display format.
key: Decrease the reference number by one when 16 bit display format, by two
when in 32 bit display format.
Æ key: Display format selection. There are signed decimal, unsigned decimal and hexadecimal display format can
be selected. Each depression of Æ key can change the format once.
<16 bit hexadecimal display>
<16 bit signed decimal display>
Å key: 16 bit/32 bit display format selection, Each depression of Å key will toggle the
display format between these two modes.
<32 bit unsigned decimal>
<32 bit hexadecimal display>

Other manuals for FATEK FBs-4A2D

Related product manuals