EasyManua.ls Logo

FATEK FBs-CM55 - Page 23

FATEK FBs-CM55
348 pages
Print Icon
To Next Page IconTo Next Page
To Next Page IconTo Next Page
To Previous Page IconTo Previous Page
To Previous Page IconTo Previous Page
Loading...
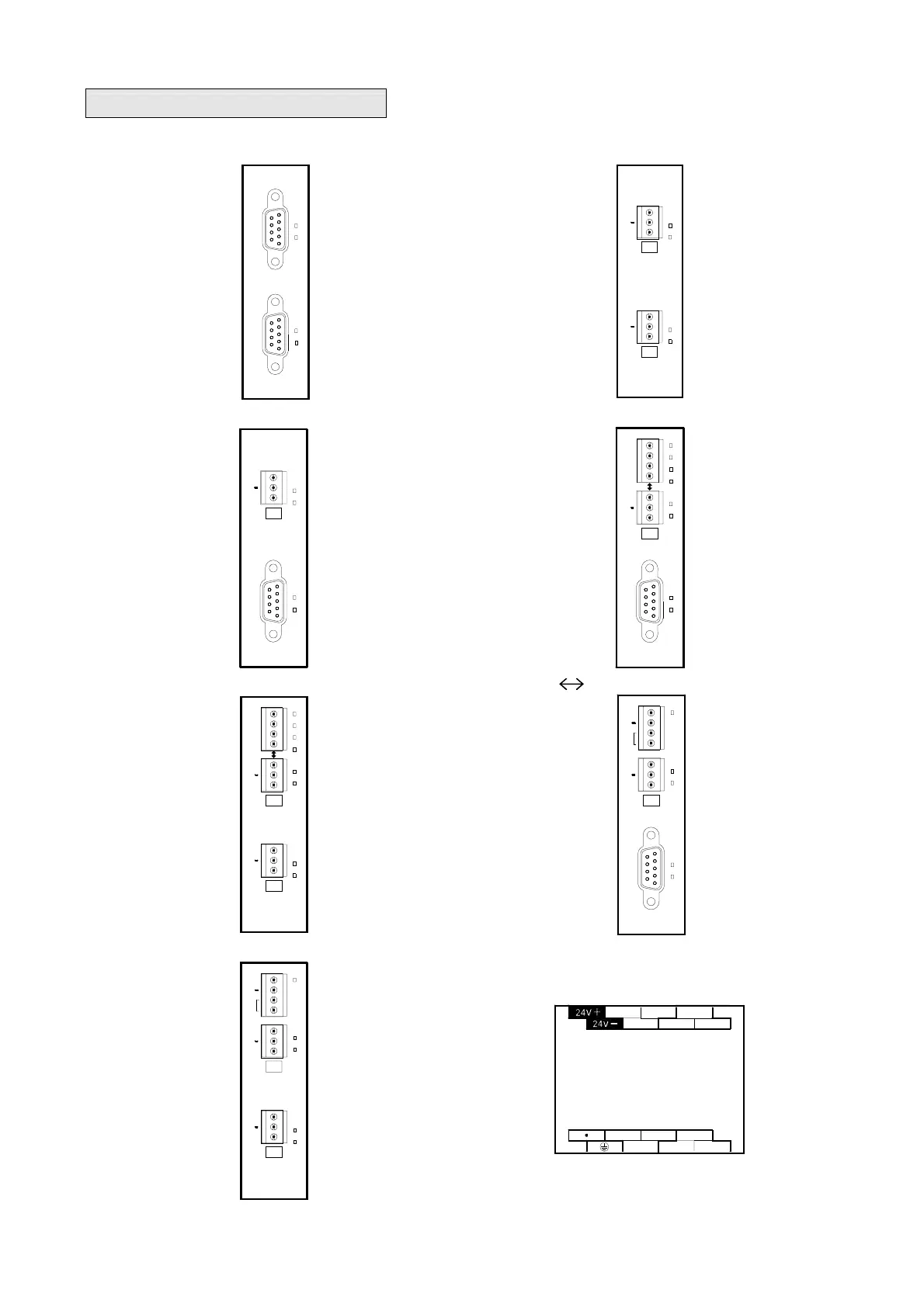
H1-16
[DB-9F connector/3Pin or 4Pin Plug able terminal block]
1.7.10 Communication Module (CM)
z 2 RS232 ports
FBs-CM22
PORT3 (RS232)
RX
TX
PORT4 (RS232)
RX
TX
z
2 RS485 ports
FBs-CM55
+
G
+
G
PORT3 (RS485)PORT4 (RS485)
TX
RX
T N
TX
RX
T N
z
1 RS2321 RS485 ports
FBs-CM25
PORT3 (RS232)
RX
TX
PORT4 (RS485)
G
T
+
RX
N
TX
z
1 RS2321 RS485Ethernet
FBs-CM25E
PORT4 (RS485)ETHERNET
G
PORT3 (RS232)
RX
TX
NT
1
TX
+
2
TX
RX
RX
3
6
RUN
LNK
z
2 RS485 portsEthernet
FBs-CM55E
PORT4 (RS485)
G
PORT3 (RS485)
G
T
+
N
RX
TX
TN
1
ETHERNET
TX
+
2
TX
RX
RX
3
6
RUN
LNK
z
RS232 RS485 Converter
FBs-CM25C
G
RX
RS232 to RS485
Converter
TN
+
FG
RX
24V
+
24V
POW
z
RS485 Repeater
N
N
Repeater
FBs-CM5R
G
G
T
+
RS485
T
+
FG
+
24V
24V
RX
RX
POW
z 4 ports RS485 HUB
(7.62mm fixed terminal block)
CH4-CH4+
GND3
CH3+ CH3- GND4
GND1
RS485 HUB
4 ports
CH1+
CH2-CH2+
CH1-
GND2
FBS-CM5H
IN

Other manuals for FATEK FBs-CM55

Related product manuals